| Номер на схеме | Каталожный номер | Название | Количество | Детали | |||
|---|---|---|---|---|---|---|---|
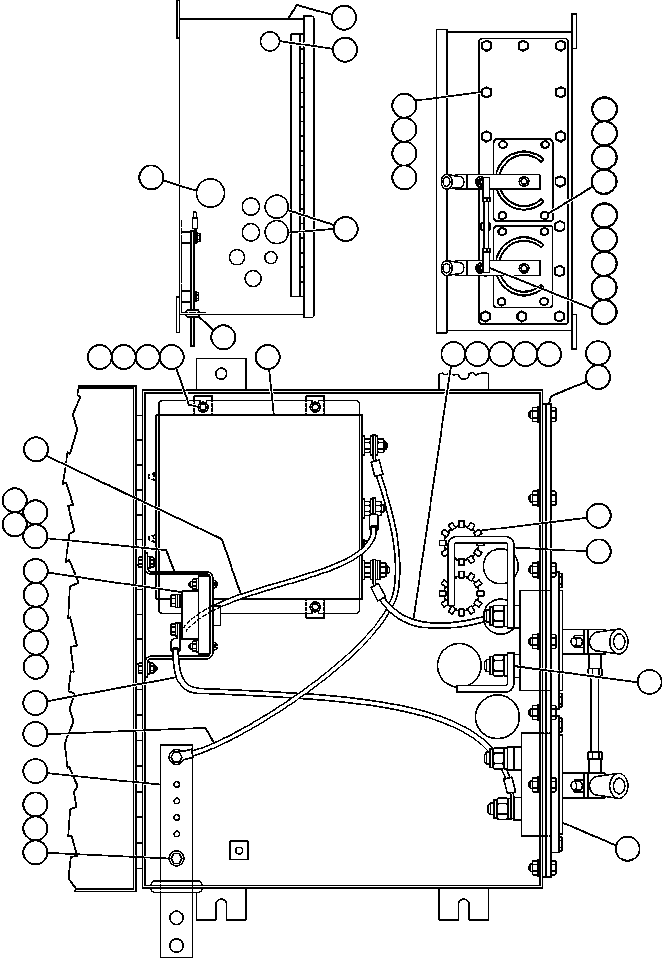
| ? | ED4418 | BRACKET | 1 | ||||
| ? | TD1809 | CAPSCREW - 1/4" - 20NC X 3/4" | 2 | ||||
| ? | DC3584 | LOCKWASHER - 1/4" | 2 | ||||
| ? | TD1549 | NUT - 1/4" - 20NC | 2 | ||||
| ? | PB6977 | EQUALIZER, BATTERY | 1 | ||||
| ? | MM0342 | MACHINE SCREW - M4 X .7 X 12 | 4 | ||||
| ? | MM0378 | LOCKWASHER - M4 | 4 | ||||
| ? | VN9762 | FLAT WASHER - #4 | 8 | ||||
| ? | MM0372 | NUT - M4 | 4 | ||||
| ? | EF8484 | PLATE, MOUNTING | 1 | ||||
| ? | EC0891 | GASKET | 1 | ||||
| ? | TV3555 | PLUG, BUTTON | 4 | ||||
| ? | EG0019 | BAR, BUS | 1 | ||||
| ? | EC4403 | WIRE | 1 | ||||
| ? | MM0007 | CAPSCREW - M6 X 1.00 X 12 | 9 | ||||
| ? | MM0459 | FLAT WASHER - M6 | 18 | ||||
| ? | MM0176 | NUT - M6 X 1.00 | 9 | ||||
| ? | MM0469 | LOCKWASHER - M6 | 4 | ||||
| ? | EJ5856 | BAR, BUS | 1 | ||||
| ? | EC1725 | SWITCH | 2 | ||||
| ? | EC1719 | BAR, BUS | 1 | ||||
| ? | MM0593 | CAPSCREW - M8 X 1.25 X 20 | 2 | ||||
| ? | MM0460 | FLAT WASHER - M8 | 34 | ||||
| ? | MM0470 | LOCKWASHER - M8 | 18 | ||||
| ? | EC4406 | WIRE | 1 | ||||
| ? | EF8481 | WIRE | 1 | ||||
| ? | EC4405 | WIRE | 1 | ||||
| ? | PB8460 | BREAKER, CIRCUIT | 1 | ||||
| ? | HD6007 | MACHINE SCREW - #10 - 24NC X 3/4" | 2 | ||||
| ? | VC5344 | FLAT WASHER - #10 | 2 | ||||
| ? | SD4245 | LOCKWASHER - #10 (EXTERNAL TOOTH) | 2 | ||||
| ? | DF0017 | NUT - #10 - 24NC | 2 | ||||
| ? | EH3983 | BOX, EQUALIZER | 1 | ||||
| ? | WA3355 | PLUG, BUTTON | 1 | ||||
| ? | TR8279 | GROMMET, RUBBER | 2 | ||||
| ? | VW4875 | PLUG, BUTTON | 1 | ||||
| ? | MM0022 | CAPSCREW - M8 X 1.25 X 20 | 16 | ||||
| ? | MM0177 | NUT - M8 X 1.25 | 16 | ||||
| ? | 821197 | STUD | 2 | ||||
| ? | S1357 | JOINT, BALL | 2 | ||||
| ? | TV0177 | FLAT WASHER - 5/16" | 2 | ||||
| ? | TR9180 | NUT, JAM - 5/16" - 24NF | 2 | ||||
| ? | DD7501 | NUT, LOCK - 5/16" - 24NF | 2 | ||||
| ? | NOTE: BATTERY EQUALIZER BOX IS NOT SERVICED AS AN | ||||||
| ? | ASSEMBLY. ORDER INDIVIDUAL COMPONENT PARTS. |