k-part
Номер на схеме Каталожный номер Название Количество Детали
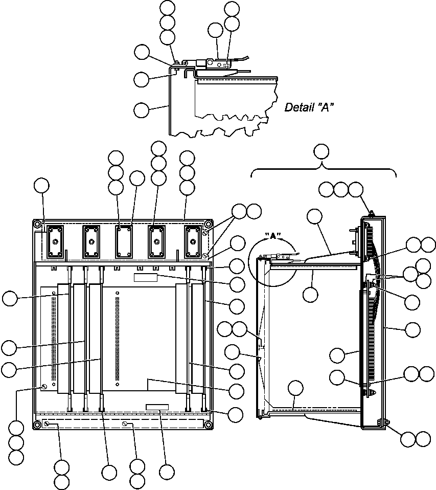
? PB8946 PANEL 1
? VE8179 BASE 1
? VE8180 CARD GUIDE 10
? VE8181 LATCH ASSEMBLY (DOES NOT INCLUDE ITEM #7) 2
? VE8182 MACHINE SCREW - #6 - 40NF X 5/16" 8
? TR5445 LOCKWASHER - 1/2" 4
? VE8183 STRIKER 2
? VE8178 LOCKWASHER - #6 (INTERNAL TOOTH) 8
? VE8184 NUT - #6 4
? VE8185 CEMENT
? VE8186 COVER - PANEL HOUSING (REAR) 1
? VE4916 MACHINE SCREW - #10 - 32NF X 1/2" 3
? VE8187 MACHINE SCREW - #10 - 32NC X 9/16" 2
? VS6662 FLAT WASHER - #10
? VE4655 FLAT WASHER - #10 3
? DC3101 LOCKWASHER - #10
? SF2755 NUT
? VE4385 CAP NUT (NYLON) 5
? VE8188 SPRING 2
? VE8189 LOCKWASHER - 1/4" 4
? VE4902 NUT 4
? BF0592 DECAL 1
? VE8775 DECAL (CAUTION THIS PANEL CONTAINS PLUG IN ECT) 1
? VE8776 DECAL (WARNING, POWER TO THIS PANEL MUST ECT) 1
? VE8191 SOCKET, 210 CONTACTS 5
? VE8192 KEY, INTERLOCK 10
? VE8193 MACHINE SCREW - #2 - 32NC X 1/2" 10
? VE8194 LOCKWASHER 10
? VE8777 LABEL (SPECIFY STAMPING REQUIRED) 1
? VE8195 PLATE, CONNECTOR 1
? VE8196 SOCKET, 104 CONTACTS 4
? PB2075 PIN, GUIDE 8
? PB2076 PIN, GUIDE 8
? VE8197 SUPPORT 1
? VE8198 MACHINE SCREW - #6 - 40NF X 3/8" 2
? TR5445 LOCKWASHER - 1/2" 2
? VE5959 NUT 2
? AK1991 CARD 1
? BF5184 CARD 1
? AK1993 CARD 1
? AK7945 CARD 1
? AK1994 CARD 1

Dump Trucks Komatsu / AFE47-BS 730E S/N A30220-A30224   PAMA(AFE47-BS) / PANEL - STATEX III (PB8946)(466 : 64064)
?
?
?
?
?
?
?
?
?
?
?
?
?
?
?
?
?
?
?
?
?
?
?
?
?
?
?
?
?
?
?
?
?
?
?
?
?
?
?
?
?
?
?
?
?
?
?
?
?
?
?
?
?
?
?
?
?
?
?
?
?
?
?
?