k-part
Номер на схеме Каталожный номер Название Количество Детали
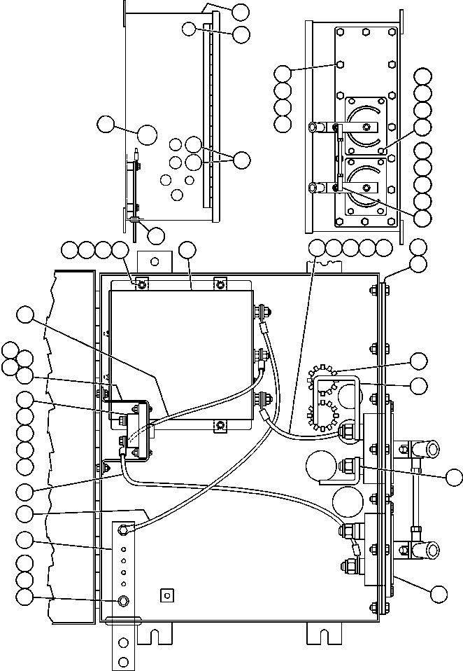
? ED4418 BRACKET 1
? TD1809 CAPSCREW - 1/4" - 20NC X 3/4" 2
? DC3584 LOCKWASHER - 1/4" 2
? TD1549 NUT - 1/4" - 20NC 2
? PB6977 EQUALIZER, BATTERY 1
? MM0342 MACHINE SCREW - M4 X .7 X 12 4
? MM0378 LOCKWASHER - M4 4
? VN9762 FLAT WASHER - M4 8
? MM0372 NUT - M4 4
? EF8484 PLATE, MOUNTING 1
? EC0891 GASKET 1
? TV3555 PLUG, BUTTON 4
? EG0019 BAR, BUS 1
? EC4403 WIRE 1
? MM0007 CAPSCREW - M6 X 1.00 X 12 9
? MM0459 FLAT WASHER - M6 18
? MM0176 NUT - M6 X 1.00 9
? MM0469 LOCKWASHER - M6 4
? EJ5856 BAR, BUS 1
? EC1725 SWITCH 2
? EC1719 BAR, BUS 1
? MM0593 CAPSCREW - M8 X 1.25 X 20 2
? MM0460 FLAT WASHER - M8 34
? MM0470 LOCKWASHER - M8 18
? EC4406 WIRE 1
? EF8481 WIRE 1
? EC4405 WIRE 1
? PB8460 BREAKER, CIRCUIT 1
? HD6007 MACHINE SCREW - #10 - 24NC X 3/4" 2
? VC5344 FLAT WASHER - #10 2
? SD4245 LOCKWASHER - #10 (EXTERNAL TOOTH) 2
? DF0017 NUT - #10 - 24NC 2
? EH3983 BOX, EQUALIZER 1
? WA3355 PLUG, BUTTON 1
? TR8279 GROMMET, RUBBER 2
? VW4875 PLUG, BUTTON 1
? MM0022 CAPSCREW - M8 X 1.25 X 20 16
? MM0177 NUT - M8 X 1.25 16
? 821197 STUD 2
? S1357 JOINT, BALL 2
? TV0177 FLAT WASHER - 5/16" 2
? TR9180 NUT, JAM - 5/16" - 24NF 2
? DD7501 NUT, LOCK - 5/16" - 24NF 2
? NOTE: BATTERY EQUALIZER BOX IS NOT SERVICED AS AN
? ASSEMBLY. ORDER INDIVIDUAL COMPONENT PARTS.

Dump Trucks Komatsu / AFE47-BS 730E S/N A30220-A30224   PAMA(AFE47-BS) / BATTERY EQUALIZER BOX ASSM - 5 (EJ5855)(272 : 55501)
?
?
?
?
?
?
?
?
?
?
?
?
?
?
?
?
?
?
?
?
?
?
?
?
?
?
?
?
?
?
?
?
?
?
?
?
?
?
?
?
?
?
?
?
?
?
?
?
?
?