|
Номер на схеме |
Каталожный номер |
Название |
Количество |
Детали |
|
|
|
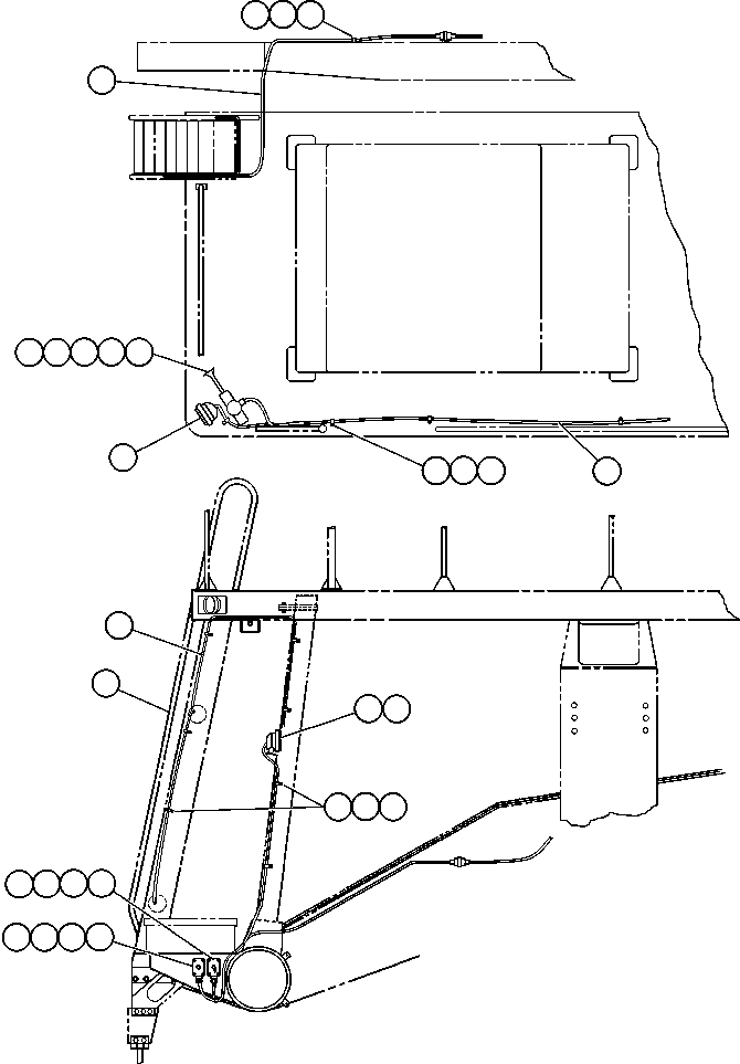
? |
PB9075 |
CONDULET, SINGLE GANG |
1 |
|
|
|
|
? |
TZ0880 |
COVER, SWITCH |
1 |
|
|
|
|
? |
PB8735 |
SWITCH, MOMENTARY ON/ON |
1 |
|
|
|
|
? |
VZ1243 |
GRIP, CORD |
1 |
|
|
|
|
? |
PB9072 |
CONDULET, SINGLE GANG |
1 |
|
|
|
|
? |
VA2826 |
COVER, SINGLE GANG |
1 |
|
|
|
|
? |
VA2828 |
SWITCH, FLUSH HEAD |
1 |
|
|
|
|
? |
VM5737 |
GRIP, CORD |
1 |
|
|
|
|
? |
TG2562 |
CLAMP |
19 |
|
|
|
|
? |
MM0460 |
FLAT WASHER - M8 |
19 |
|
|
|
|
? |
MM0177 |
NUT - M8 X 1.25 |
19 |
|
|
|
|
? |
EF8490 |
HARNESS - LEFT UPRIGHT |
1 |
|
|
|
|
? |
AK3321 |
SERVICE LIGHT ASSEMBLY |
1 |
|
|
|
|
? |
AK7552 |
• HOUSING |
1 |
|
|
|
|
? |
AK7575 |
• BULB - 24V/60W |
1 |
|
|
|
|
? |
AK3338 |
• LENS, GLASS |
1 |
|
|
|
|
? |
SP6153 |
LOCKWASHER - 3/8" (INTERNAL TOOTH) |
1 |
|
|
|
|
? |
PB9255 |
HORN |
1 |
|
|
|
|
? |
EF7243 |
SPACER |
2 |
|
|
|
|
? |
MM0629 |
CAPSCREW - M12 X 1.75 X 120 |
2 |
|
|
|
|
? |
MM0714 |
FLAT WASHER - M12 |
2 |
|
|
|
|
? |
MM0720 |
NUT - M12 X 1.75 |
2 |
|
|
|
|
? |
AK3357 |
TURN SIGNAL & CLEARANCE LIGHT (SEE FIG 40869) |
1 |
|
40869 |
|
|
? |
EJ5520 |
HARNESS - LEFT DECK |
1 |
|
|
|
|
? |
|
NOTE: NS = NOT SHOWN |
|
|
|
|
|
? |
EH7356 |
HARNESS - LEFT FRAME RAIL |
1 |
|
|
|
|
? |
EG4858 |
HARNESS - LADDER LIGHTS |
1 |
|
|
|
|
? |
VN5153 |
WIRE, GROUND |
1 |
|
|
|