| Номер на схеме | Каталожный номер | Название | Количество | Детали | |||
|---|---|---|---|---|---|---|---|
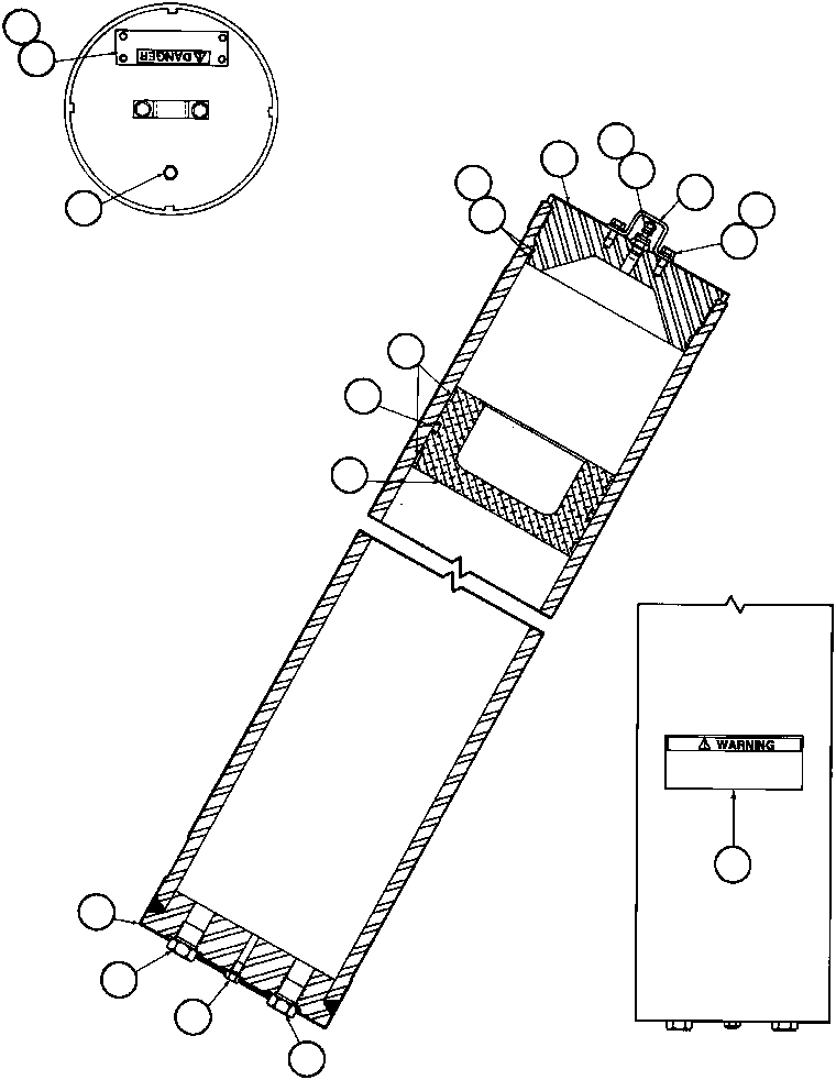
| ? | ED8928 | • HOUSING | 1 | ||||
| ? | VM0317 | • • PLUG, O-RING (2) | 2 | ||||
| ? | VM0313 | • • PLUG, O-RING (2) | 1 | ||||
| ? | WA2988 | • • PLATE, DANGER (2) | 2 | ||||
| ? | R1073 | • • DRIVE SCREW - #6 X 3/16" | 8 | ||||
| ? | TK2028 | • • PISTON | 1 | ||||
| ? | PB6709 | • • T-RING SEAL ASSEMBLY | 1 | ||||
| ? | PB3972 | • • SEAL, RING | 1 | ||||
| ? | PB3973 | • • SEAL, NON-EXTRUSION | 2 | ||||
| ? | PB6708 | • • BEARING (2) | 2 | ||||
| ? | WA0265 | • • O-RING | 2 | ||||
| ? | WA1265 | • • BACKUP RING | 2 | ||||
| ? | EC2252 | • • GLAND | 1 | ||||
| ? | PB2194 | • • CHARGING VALVE ASSEMBLY (1)/(2) | 1 | ||||
| ? | TR9993 | • • CAP | 1 | ||||
| ? | TD7179 | • • CORE, VALVE | 1 | ||||
| ? | TF1144 | • • O-RING | 1 | ||||
| ? | WA0052 | • • O-RING | 1 | ||||
| ? | VD5076 | • • GASKET (1)/(2) | 1 | ||||
| ? | TV1294 | • • GUARD, VALVE | 1 | ||||
| ? | VF8084 | • • CAPSCREW - 3/8" - 16NC X 1" | 2 | ||||
| ? | C0312 | • • LOCKWASHER - 3/8" | 2 | ||||
| ? | TY5888 | • • DECAL, WARNING (2) | 1 | ||||
| ? | VM0314 | • • PLUG, O-RING | 1 | ||||
| ? | RK1887 | • • NOTE: (1) INCLUDED IN RK1887 REPAIR KIT. | 65535 | ||||
| ? | AK7793 | • • (2) INCLUDED IN AK7793 STEERING ACCUMULATOR | 65535 | ||||
| ? | • • MAINTENANCE KIT. | 65535 |