k-part
Наименование Страница Код страницы
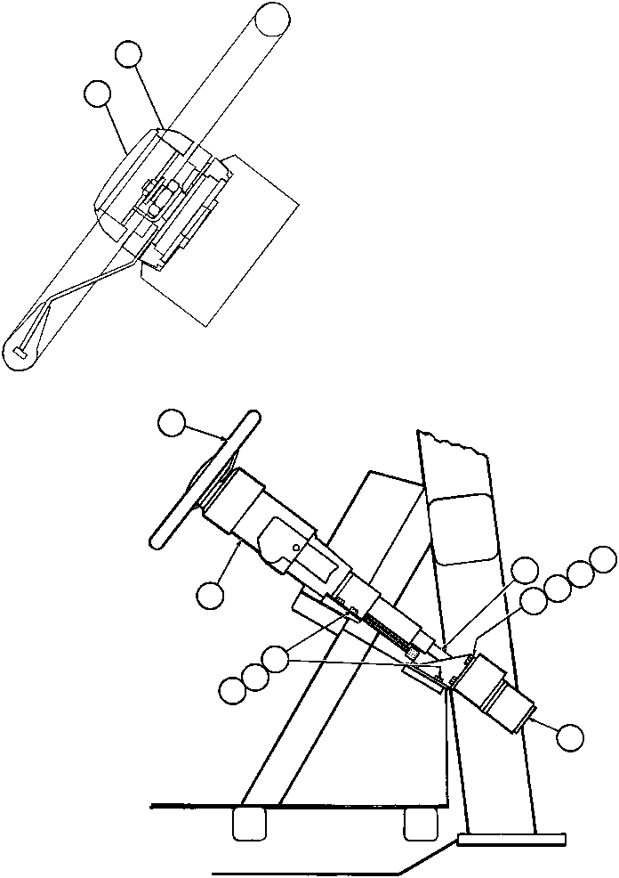
STEERING COLUMN ASSEMBLY (PB9380) 092 60092
STEERING CONTROL UNIT (PB6905) 094 14608

Номер на схеме Каталожный номер Название Количество Детали
? PB8234 • WHEEL, STEERING 1
? SM2470 • • STEERING COLUMN ASSEMBLY 1
? VL0954 • • HOUSING, PIN 1
? VH5019 • • CONNECTOR, PIN 8
? VZ4843 • • STRAP, TIE 1
? VH2586 • • RING, TERMINAL 1
? PB9380 • • STEERING COLUMN ASSEMBLY (SEE INDEX) 1
? PB7022 • • SWITCH, TURN SIGNAL/DIMMER 1
? MM0350 • • MACHINE SCREW - M5 X 16 2
? MM0379 • • LOCKWASHER - M5 (EXTERNAL TOOTH) 2
? TK9875 • • SHAFT, STEERING 1
? SM1018 • • MOUNT, STEERING VALVE 1
? TG5720 • • CAPSCREW - 3/8" - 16NC X 1" 4
? MM0471 • • LOCKWASHER - M10 8
? WA4726 • • FLAT WASHER - 3/8" 8
? PB6905 • • STEERING CONTROL VALVE ASSM (SEE INDEX) 1
? MM0604 • • CAPSCREW - M10 X 1.50 X 10 8
? PB6846 • • BUTTON, HORN 1
? VE3184 • • RING, LOCKING 1
? TC1231 • • LOCKWASHER - 3/8" 4

Dump Trucks Komatsu / AFE47-AD 730E                SISHEN (A30095 & A30098)(AFE47-AD) / STEERING COLUMN & CONTROL VALVE INSTL(090 : 55069)
?
?
?
?
?
?
?
?
?
?
?
?
?