k-part
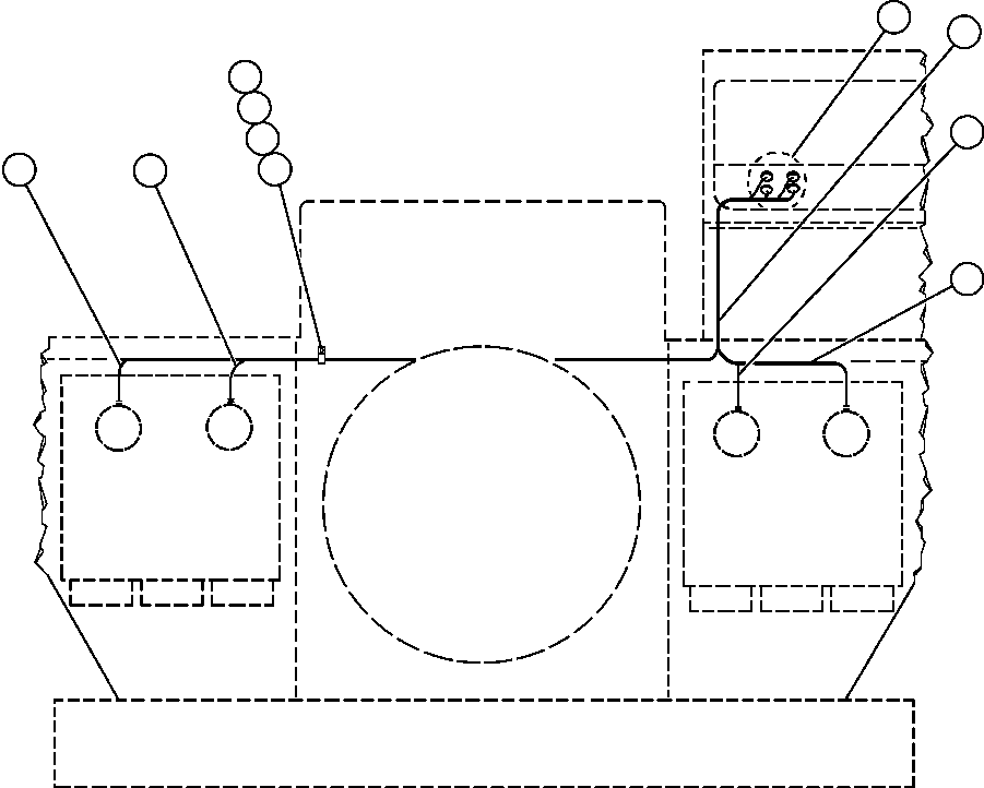
Номер на схеме Каталожный номер Название Количество Детали
? TA7047 FITTING - NYLON - 90 DEG 2
? TF6380 GROMMET, RUBBER 4
? TK5564 TUBE, NYLON 1
? TK5563 TUBE, NYLON 1
? TG2562 CLAMP, TUBE 12
? VC2195 STUD 12
? C0312 LOCKWASHER - 3/8" 12
? C1521 NUT - 3/8" - 16NC 12
? VA7929 TUBE, NYLON 1
? TK5562 TUBE, NYLON 1

Dump Trucks Komatsu / AFE44-A 510E S/N 31682-3, 31697-9, 31712-8, 31724-5, 31734-5 COAL & ALLIED(AFE44-A) / AIR CLEANER SERVICE INDICATOR PIPING(038 : 13174)
?
?
?
?
?
?
?
?
?
?