|
Номер на схеме |
Каталожный номер |
Название |
Количество |
Детали |
|
|
|
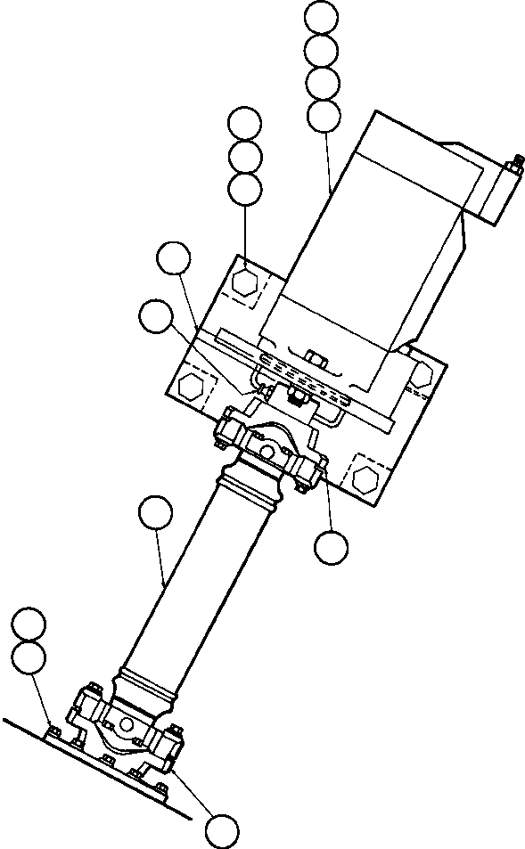
? |
SG7814 |
CAPSCREW - 3/8" - 24NF X 1 1/4" |
8 |
|
|
|
|
? |
C0312 |
LOCKWASHER - 3/8" |
8 |
|
|
|
|
? |
PB7330 |
YOKE, FLANGE |
1 |
|
|
|
|
? |
PB7328 |
U-JOINT ASSM |
1 |
|
|
|
|
? |
VE4143 |
• TUBE ASSM |
1 |
|
|
|
|
? |
VE4142 |
• SPIDER & BEARING ASSM |
2 |
|
|
|
|
? |
PB7329 |
YOKE, PUMP DRIVE |
1 |
|
|
|
|
? |
C0315 |
ZERK, GREASE |
1 |
|
|
|
|
? |
TA9818 |
SUPPORT, PUMP |
1 |
|
|
|
|
? |
C1644 |
CAPSCREW - 3/4" - 10NC X 2" |
4 |
|
|
|
|
? |
C1542 |
LOCKWASHER - 3/4" |
4 |
|
|
|
|
? |
PB8142 |
PUMP, HOIST & STEERING (SEE INDEX) |
1 |
|
10728 |
|
|
? |
C1631 |
CAPSCREW - 5/8" - 11NC X 2 1/4" |
2 |
|
|
|
|
? |
C1544 |
LOCKWASHER - 5/8" |
2 |
|
|
|
|
? |
C1525 |
NUT - 5/8" - 11NC |
2 |
|
|
|
|
? |
C1551 |
FLAT WASHER - 3/4" |
4 |
|
|
|