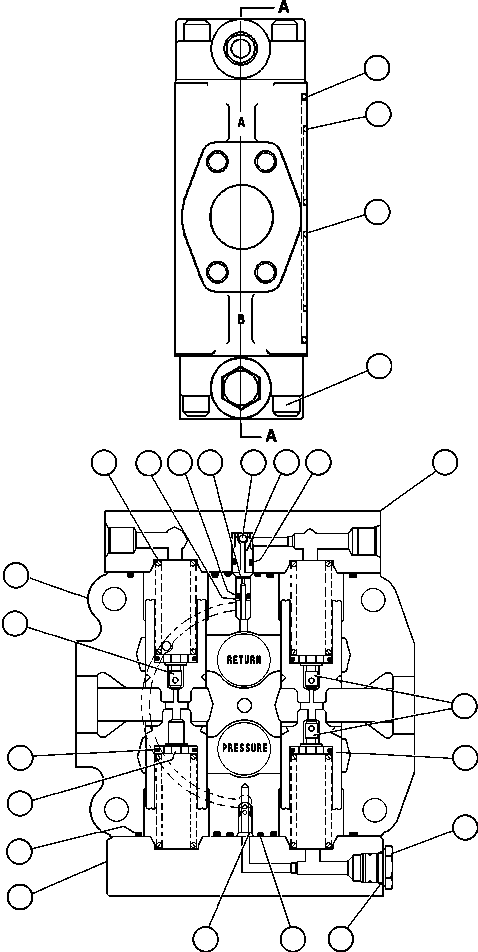
| Номер на схеме | Каталожный номер | Название | Количество | Детали | |||
|---|---|---|---|---|---|---|---|
| ? | VE6195 | SPRING | 4 | ||||
| ? | VE3550 | RING, BACKUP (2) | 1 | ||||
| ? | VE3526 | O-RING (2) | 1 | ||||
| ? | VE3983 | POPPET, RESTRICTION (3) | 1 | ||||
| ? | VE3535 | BALL (2)/(3) | 1 | ||||
| ? | VE3536 | POPPET (3) | 1 | ||||
| ? | VE3527 | O-RING (2)/(3) | 1 | ||||
| ? | VE6186 | COVER, SPOOL | 1 | ||||
| ? | VJ1994 | POPPET (WHITE) (3) | 2 | ||||
| ? | SPOOL (1) | 2 | |||||
| ? | VJ1983 | PLUG | 1 | ||||
| ? | VE3549 | O-RING (2)/(3) | 1 | ||||
| ? | VJ2011 | O-RING (2)/(3) | 2 | ||||
| ? | VE3603 | POPPET (3) | 1 | ||||
| ? | VE6194 | COVER, SPOOL | 1 | ||||
| ? | VE6182 | O-RING (2)/(3) | 4 | ||||
| ? | VE6185 | WASHER, SPOOL | 4 | ||||
| ? | VE6180 | O-RING (2)/(3) | 4 | ||||
| ? | VJ1995 | POPPET (BLUE) (3) | 1 | ||||
| ? | HOUSING, SPOOL (1) | 1 | |||||
| ? | VE6183 | O-RING (2)/(3) | 1 | ||||
| ? | VE6181 | O-RING (2)/(3) | 2 | ||||
| ? | VJ1987 | CAPSCREW | 32 | ||||
| ? | NOTE: (1) NOT SVCD SEPARATELY. | ||||||
| ? | VE6205 | (2) INCLUDED IN VE6205 MINOR SERVICE KIT. | |||||
| ? | VE6206 | (3) INCLUDED IN VE6206 MAJOR SERVICE KIT. |