k-part
Наименование Страница Код страницы
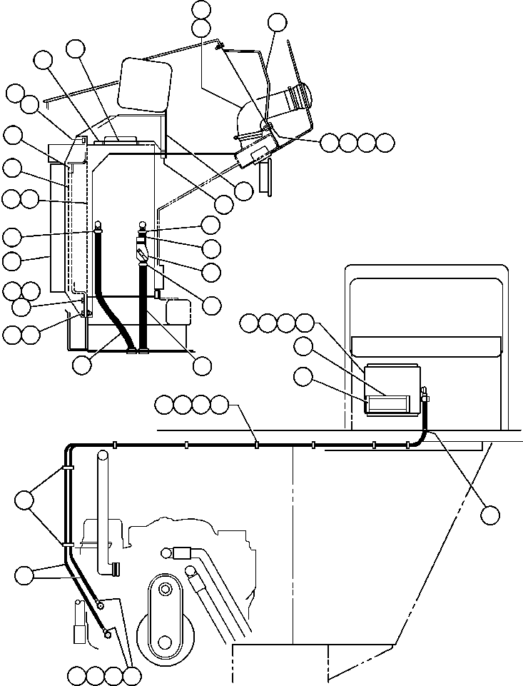
HEATER/AIR CONDITIONER (PB8386/PB8388) 180 35430

Номер на схеме Каталожный номер Название Количество Детали
? TY8733 MOUNT, HEATER CONTROL 1
? TR1306 CAPSCREW - 1/4" - 20NC X 1" 4
? TR1307 FLATWASHER - 1/4" 4
? DC3584 LOCKWASHER - 1/4" 4
? TD1549 NUT - 1/4" - 20NC 4
? TY8681 SEAL, NEOPRENE SPONGE 3
? TY8687 SEAL, NEOPRENE SPONGE 6
? HC0908 CLAMP 4
? TN9903 HOSE (SEE HEATER CONTROL PG) 1
? PB4978 VALVE, HEATER (SEE HEATER CONTROL PG) 1
? JG8379 HOSE, HEATER 2
? SC4174 LOCKWASHER - 5/16" 10
? TR4731 CAPSCREW - 5/16" - 18NC X 1" 6
? VC9049 CAPSCREW - 5/16" - 18NC X 5/8" 4
? TD1684 NUT - 5/16" - 18NC 2
? PB7001 FILTER, AIR 1
? PB8386 HEATER ASSEMBLY (SEE FIG 35430) 1 35430
? TY8738 ANGLE 1
? TY8684 SEAL, NEOPRENE SPONGE 2
? TY8680 SEAL, NEOPRENE SPONGE 6
? DF5391 CLAMP 4
? EB2432 DUCT, HOSE - AIR CONDITIONER 2
? WA4725 FLATWASHER - 5/16" (HARDENED) 10
? TY8685 SEAL, NEOPRENE SPONGE 2
? TY8683 SEAL, NEOPRENE SPONGE 2
? TR8279 GROMMET 2
? TC1565 CLAMP 16
? VC2195 WELD STUD - 3/8" - 16NC X 1" 6
? C0312 LOCKWASHER - 3/8" 6
? C1521 NUT - 3/8" - 16NC 6
? VN6280 VALVE, SHUT-OFF 2
? MM0726 ADAPTOR 2
? WA6147 CLAMP 2
? MM0728 ADAPTOR, SEAL 2

Dump Trucks Komatsu / AFE32-EW 830E S/N 32753 & 32757 BHP ROBINSON(AFE32-EW) / HEATER PIPING & INSTALLATION(174 : 40972)
?
?
?
?
?
?
?
?
?
?
?
?
?
?
?
?
?
?
?
?
?
?
?
?
?
?
?
?
?
?
?
?
?
?
?
?
?
?
?
?
?
?
?
?
?
?
?