k-part
Номер на схеме Каталожный номер Название Количество Детали
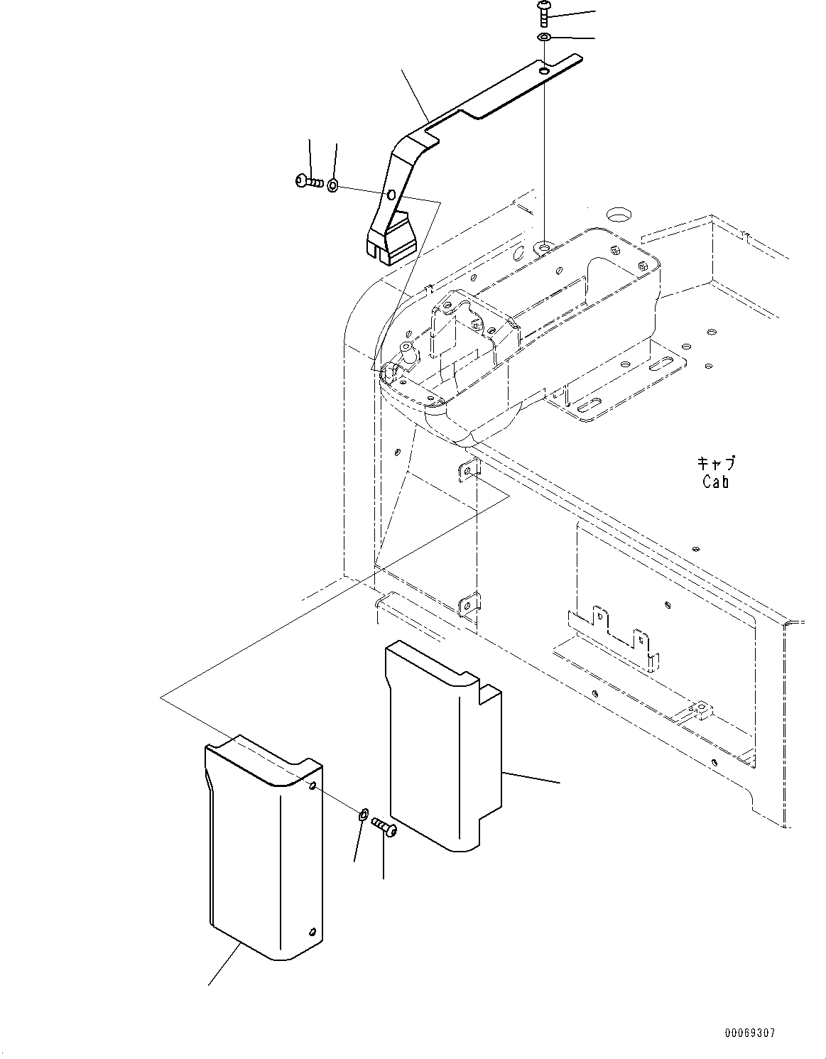
? 22F-978-3240 Cover 1
SN: 32725-33500
KIT-FLAG: _-
SCC:
SERIALNO: 32725-33500
? 01245-00816 Screw 2
SN: 32725-33500
KIT-FLAG: _-
SCC:
SERIALNO: 32725-33500
? 01643-70823 Washer 2
SN: 32725-33500
KIT-FLAG: _-
SCC:
SERIALNO: 32725-33500
? 22F-978-3231 Cover 1
SN: 32725-33500
KIT-FLAG: _-
SCC:
SERIALNO: 32725-33500
? 01245-01016 Screw 2
SN: 32725-33500
KIT-FLAG: _-
SCC:
SERIALNO: 32725-33500
? 01643-71032 Washer 2
SN: 32725-33500
KIT-FLAG: _-
SCC:
SERIALNO: 32725-33500
? 22F-978-3250 Sheet 1
SN: 32725-33500
KIT-FLAG: _-
SCC:
SERIALNO: 32725-33500

Excavators Komatsu / PC30MR-3 S/N 32725-UP (EU Spec.)(0000466c) / Cab, Floor Cover (#32725-33500)(K005039 : K0210-011039)
?
?
?
?
?
?
?
?
?