| Номер на схеме | Каталожный номер | Название | Количество | Детали | |||
|---|---|---|---|---|---|---|---|
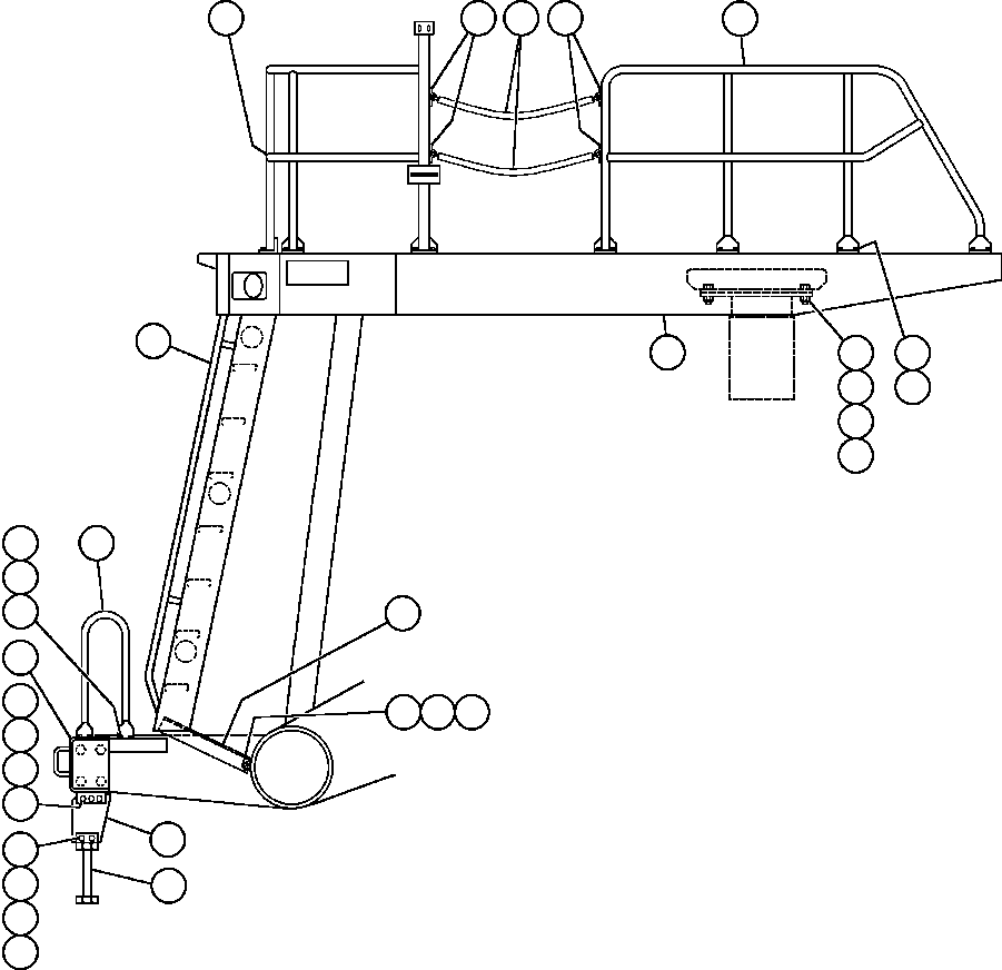
| ? | EF3097 | HANDRAIL - REAR | 1 | ||||
| ? | C1540 | LOCKWASHER - 1/2" | 24 | ||||
| ? | C1612 | CAPSCREW - 1/2" - 13NC X 1" | 24 | ||||
| ? | WA4730 | FLAT WASHER - 3/4" | 12 | ||||
| ? | TR4735 | LOCKWASHER - 3/4" | 6 | ||||
| ? | VX0416 | CAPSCREW - 3/4" - 10NC X 2 3/4" | 6 | ||||
| ? | TR8960 | NUT - 3/4" | 6 | ||||
| ? | ED8541 | DECK - L.H. | 1 | ||||
| ? | ED9304 | COVER, DECK ACCESS | 1 | ||||
| ? | EC7649 | SUPPORT, LADDER | 1 | ||||
| ? | C1549 | FLAT WASHER - 1/2" | 8 | ||||
| ? | EC6553 | STEP | 1 | ||||
| ? | EC6554 | STRAP, MOUNTING | 2 | ||||
| ? | EB2102 | WASHER | 2 | ||||
| ? | C0312 | LOCKWASHER - 3/8" | 12 | ||||
| ? | C1604 | CAPSCREW - 3/8" - 16NC X 1 1/2" | 12 | ||||
| ? | C1521 | NUT - 3/8" | 2 | ||||
| ? | EC7230 | WASHER | 2 | ||||
| ? | EC8208 | EXTENTION, BUMPER | 1 | ||||
| ? | EC8127 | HANDRAIL | 2 | ||||
| ? | ED7016 | LADDER, L.H. | 1 | ||||
| ? | ED9310 | HANDRAIL (FRONT) | 1 | ||||
| ? | TB8588 | ROD, FORMED | 4 | ||||
| ? | TZ3534 | ASSM. CHAIN | 2 |