| Номер на схеме | Каталожный номер | Название | Количество | Детали | |||
|---|---|---|---|---|---|---|---|
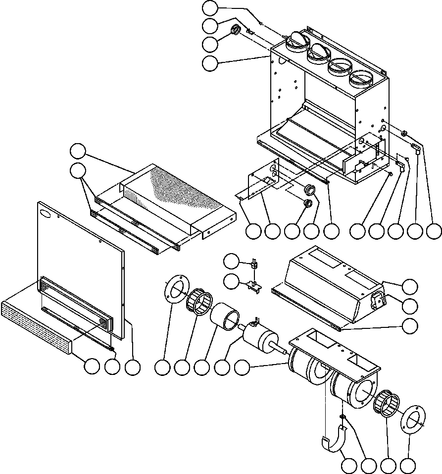
| ? | VE9793 | COVER ASSM (1) | 1 | ||||
| ? | SEAL - NEOPRENE 20. 1/8" - N.S.S. (1)/(2) | 1 | |||||
| ? | VE9764 | CORE, HEATER (1) | 1 | ||||
| ? | VE9762 | LOUVER, ASSM (1) | 1 | ||||
| ? | VE9765 | NUT - PUSH (1) | 2 | ||||
| ? | VE9792 | CLIP, CABLE (1) | 2 | ||||
| ? | VE9778 | CASE (1) | 1 | ||||
| ? | VE9767 | GROMMET (1) | 1 | ||||
| ? | VE9771 | PLUG (1) | 1 | ||||
| ? | VE9768 | ELBOW (1) | 2 | ||||
| ? | VE9790 | SUPPORT, BLOWER ASSM (1) | 1 | ||||
| ? | VE9781 | HEAT SINK (1) | 1 | ||||
| ? | SEAL - NEOPRENE - 1.68 FT. - N.S.S. (1)/(2) | 1 | |||||
| ? | VE9787 | FOIL (1) | 2 | ||||
| ? | VE9782 | WHEEL, BLOWER (1) | 1 | ||||
| ? | VE9784 | STRAP (1) | 1 | ||||
| ? | VE9791 | NUT (1) | 1 | ||||
| ? | VE9786 | HOUSING, BLOWER (1) | 1 | ||||
| ? | VE9789 | RESISTOR, 24V (1) | 1 | ||||
| ? | VE9783 | INSULATOR, MOTOR (1) | 1 | ||||
| ? | VE9763 | HARNESS (1) | 1 | ||||
| ? | VE9772 | PLUG (1) | 1 | ||||
| ? | SEAL - NEOPRENE - 1.4 FT. - N.S.S. (1)/(2) | 2 | |||||
| ? | VE9773 | PLUG (1) | 1 | ||||
| ? | VE9788 | MOTOR, BLOWER ASSM (1) | 1 | ||||
| ? | VE9785 | WHEEL, BLOWER (1) | 1 | ||||
| ? | FILTER, FOAM - 1.35 FT. - N.S.S. (1) | 1 | |||||
| ? | VE9794 | PLATE, CONNECTION (1) | 1 | ||||
| ? | NOTE: (1) INCLUDED IN PB8385 HEATER ASSM. | ||||||
| ? | (2) NOT SVCD SEPARATELY. |