| Номер на схеме | Каталожный номер | Название | Количество | Детали | |||
|---|---|---|---|---|---|---|---|
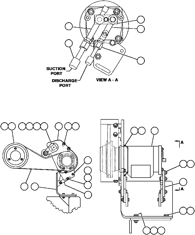
| ? | ED4372 | • GUARD, BELT | 1 | ||||
| ? | WA0720 | • • FLAT WASHER - 3/8" (HARDENED) | 11 | ||||
| ? | C1601 | • • CAPSCREW - 3/8" - 16NC X 3/4" | 3 | ||||
| ? | 1270378H2 | • • ASSM, BELT TENSIONER | 1 | ||||
| ? | VN9157 | • • CAPSCREW - 3/8" - 16NC X 5" | 1 | ||||
| ? | TG9225 | • • LOCKNUT - 3/8" | 1 | ||||
| ? | PB9227 | • • V-BELT, COMPRESSOR | 1 | ||||
| ? | EF9669 | • • ASSM, SPACER | 1 | ||||
| ? | EF2658 | • • PIN | 1 | ||||
| ? | EF9281 | • • SPACER | 1 | ||||
| ? | EF0185 | • • PULLEY | 1 | ||||
| ? | H0744 | • • CAPSCREW - 3/8" - 16NC X 2" (SOCKET HEAD) | 3 | ||||
| ? | EF0187 | • • BRACKET | 1 | ||||
| ? | ED1154 | • • LINK | 2 | ||||
| ? | C1604 | • • CAPSCREW - 3/8" - 16NC X 1 1/2" | 7 | ||||
| ? | C1521 | • • NUT - 3/8" - 16NC | 8 | ||||
| ? | EF0308 | • • MOUNT, FRONT | 1 | ||||
| ? | WA0723 | • • FLAT WASHER - 5/16" | 3 | ||||
| ? | C7568 | • • CAPSCREW | 3 | ||||
| ? | PB9069 | • • COMPRESSOR, AIR CONDITIONER | 1 | ||||
| ? | C1603 | • • CAPSCREW - 3/8" - 16NC X 1 1/4" | 3 | ||||
| ? | ED4369 | • • MOUNT, REAR | 1 | ||||
| ? | MM0004 | • • CAPSCREW - M12 X 1.75 X 20 | 2 | ||||
| ? | MM0714 | • • FLAT WASHER - M12 - (HARDENED ZINC PLATE) | 4 | ||||
| ? | MM0039 | • • CAPSCREW - M12 X 1.75 X 35 | 1 | ||||
| ? | MM0179 | • • NUT - M12 | 1 | ||||
| ? | PB8730 | • • PLATE, HOLD DOWN | 1 | ||||
| ? | PB9152 | • • ASSM, FITTING - A/C COMPRESSOR | 1 | ||||
| ? | HA7185 | • • HOSE - DISCHARGE | 1 | ||||
| ? | HA7169 | • • HOSE | 1 | ||||
| ? | PB9153 | • • ASSM, FITTING - A/C COMPRESSOR | 1 |