| Номер на схеме | Каталожный номер | Название | Количество | Детали | |||
|---|---|---|---|---|---|---|---|
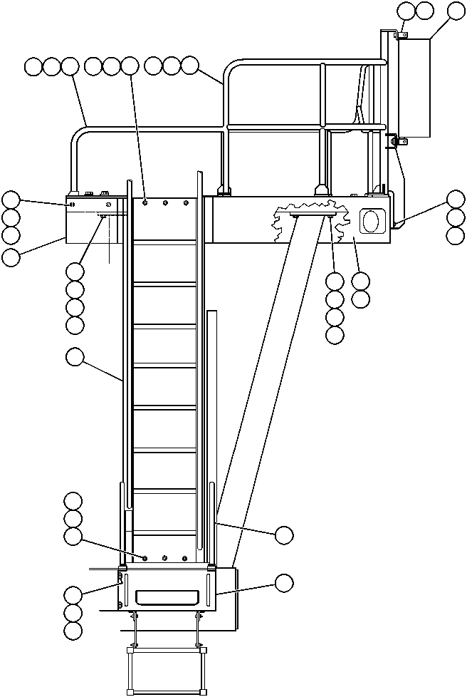
| ? | ED6387 | • ADAPTOR, LADDER | 1 | ||||
| ? | VF8334 | • • CAPSCREW - 3/4" - 10NC X 2 3/4" | 6 | ||||
| ? | WA4730 | • • FLAT WASHER - 3/4" (HARDENED) | 12 | ||||
| ? | TR4735 | • • LOCKWASHER - 3/4" | 6 | ||||
| ? | EF3097 | • • HANDRAIL - REAR | 1 | ||||
| ? | VC1387 | • • CAPSCREW - 1/2" - 13NC X 1" | 30 | ||||
| ? | TR5445 | • • LOCKWASHER - #6 | 30 | ||||
| ? | ED9310 | • • HANDRAIL | 1 | ||||
| ? | C1604 | • • CAPSCREW - 3/8" - 16NC X 1 1/2" | 4 | ||||
| ? | C0312 | • • LOCKWASHER - 3/8" | 4 | ||||
| ? | AK1214 | • • MIRROR (SEE FIG. 30460) | 1 | ||||
| ? | TZ5945 | • • BLOCK, TAPPED | 1 | ||||
| ? | C1601 | • • CAPSCREW - 3/8" - 16NC X 3/4" | 1 | ||||
| ? | WA4726 | • • FLAT WASHER - 3/8" | 2 | ||||
| ? | ED8541 | • • DECK, L.H. | 4 | ||||
| ? | ED9304 | • • COVER, DECK ACCESS | 4 | ||||
| ? | ED7016 | • • LADDER, L.H. | 1 | ||||
| ? | EC8208 | • • EXTENTION, BUMPER | 1 | ||||
| ? | EC8127 | • • HANDRAIL | 2 | ||||
| ? | TR8960 | • • NUT - 3/4" | 6 | ||||
| ? | TV1748 | • • CAPSCREW - 5/8" - 11NC X 1 1/2" | 4 | ||||
| ? | VC1390 | • • LOCKWASHER - 5/8" | 4 | ||||
| ? | WA0361 | • • FLAT WASHER - 5/8" | 4 | ||||
| ? | WA4728 | • • FLAT WASHER - 1/2" | 8 |