|
Номер на схеме |
Каталожный номер |
Название |
Количество |
Детали |
|
|
|
? |
PB8234 |
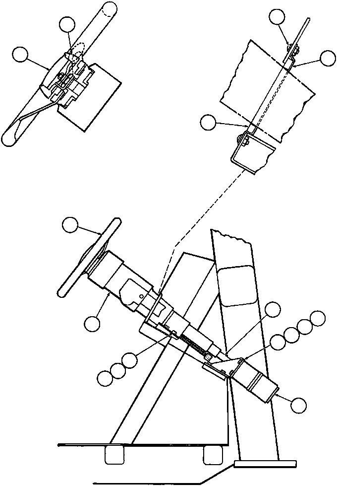
• WHEEL, STEERING |
1 |
|
|
|
|
? |
SM2470 |
• • STEERING COLUMN ASSM |
1 |
|
|
|
|
? |
VL0954 |
• • HOUSING, PIN |
1 |
|
|
|
|
? |
VH5019 |
• • CONNECTOR, PIN |
8 |
|
|
|
|
? |
VZ4843 |
• • TIE, CABLE |
1 |
|
|
|
|
? |
VH2586 |
• • RING, TERMINAL |
1 |
|
|
|
|
? |
PB9380 |
• • STEERING COLUMN ASSM (SEE INDEX) |
1 |
|
|
|
|
? |
PB7022 |
• • SWITCH, TURN SIGNAL/DIMMER |
1 |
|
|
|
|
? |
MM0350 |
• • MACHINE SCREW - M5 X 16 |
2 |
|
|
|
|
? |
MM0379 |
• • WASHER - M5 (EXTERNAL TOOTH) |
2 |
|
|
|
|
? |
TK9875 |
• • SHAFT, STEERING |
1 |
|
|
|
|
? |
TX6342 |
• • MOUNT, STEERING VALVE |
1 |
|
|
|
|
? |
TG5720 |
• • CAPSCREW - 3/8" - 16NC X 1" |
4 |
|
|
|
|
? |
TC1231 |
• • LOCKWASHER - 3/8" |
8 |
|
|
|
|
? |
WA4726 |
• • FLAT WASHER - 3/8" (HARDENED) |
8 |
|
|
|
|
? |
PB6905 |
• • STEERING CONTROL VALVE ASSM (SEE INDEX) |
1 |
|
|
|
|
? |
TL7218 |
• • CAPSCREW - 3/8" - 16NC X 7/8" |
4 |
|
|
|
|
? |
PB6846 |
• • BUTTON, HORN |
1 |
|
|
|
|
? |
VE3184 |
• • RING, LOCKING |
1 |
|
|
|
|
? |
WA4605 |
• • PHILLIPS SCREW - #10 X 24NC X 1/2" |
4 |
|
|
|
|
? |
TX7836 |
• • PLATE, RETAINING - R.H. |
1 |
|
|
|
|
? |
TX7837 |
• • PLATE, RETAINING - L.H. |
1 |
|
|
|
|
? |
TX7829 |
• • SEAL, STEERING COLUMN |
1 |
|
|
|