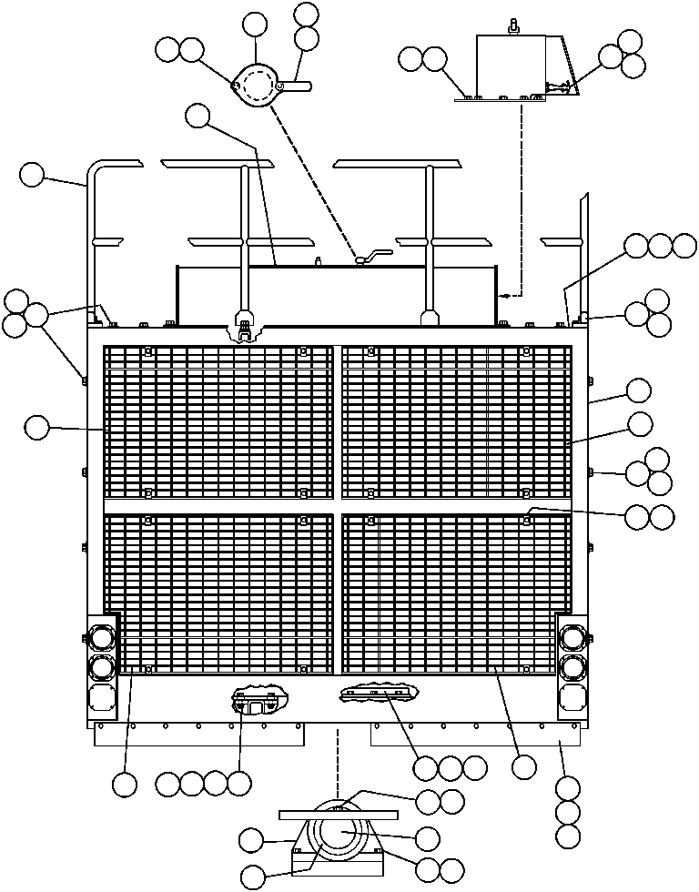
| Номер на схеме | Каталожный номер | Название | Количество | Детали | |||
|---|---|---|---|---|---|---|---|
| ? | C1613 | • CAPSCREW - 1/2" - 13NC X 1 1/4" | 35 | ||||
| ? | C1540 | • • LOCKWASHER - 1/2" | 43 | ||||
| ? | WA0360 | • • FLAT WASHER - 1/2" (HARDENED) | 20 | ||||
| ? | YA1053 | • • COVER, SURGE TANK | 1 | ||||
| ? | VG7811 | • • LOCKNUT - 1/2" - 13NC | 1 | ||||
| ? | VC7836 | • • FLAT WASHER - 1/2" | 2 | ||||
| ? | TY7528 | • • PLATE, COVER | 1 | ||||
| ? | PB6877 | • • LEVER, NUT | 1 | ||||
| ? | PB6842 | • • HOOK, RUBBER HOOD | 2 | ||||
| ? | C1639 | • • CAPSCREW - 5/16" - 18NC X 2" | 2 | ||||
| ? | VN9951 | • • LOCKNUT - 5/16" - 18NC | 2 | ||||
| ? | EF4261 | • • GRILLE FRAME | 1 | ||||
| ? | EC4150 | • • GRILLE | 2 | ||||
| ? | TY7538 | • • CLIP | 22 | ||||
| ? | WA3364 | • • LOCKSCREW | 22 | ||||
| ? | EB9530 | • • CHANNEL, RUBBER - AIR DAM | 2 | ||||
| ? | VN6450 | • • CAPSCREW - 3/8" - 16NC X 7/8" | 19 | ||||
| ? | C1547 | • • FLAT WASHER - 3/8" | 19 | ||||
| ? | TY7535 | • • CHANNEL, RUBBER - AIR DAM | 1 | ||||
| ? | C5542 | • • CAPSCREW - 1 1/4" - 7NC X 3" | 2 | ||||
| ? | WA0366 | • • FLAT WASHER - 1 1/4" (HARDENED) | 2 | ||||
| ? | TY8055 | • • PIN, PIVOT | 1 | ||||
| ? | EB8444 | • • COVER | 1 | ||||
| ? | C1601 | • • CAPSCREW - 3/8" - 16NC X 3/4" | 4 | ||||
| ? | C0312 | • • LOCKWASHER - 3/8" | 4 | ||||
| ? | WA4726 | • • FLAT WASHER - 3/8" (HARDENED) | 4 | ||||
| ? | C1645 | • • CAPSCREW - 3/4" - 10NC X 2 1/4" | 6 | ||||
| ? | C1542 | • • LOCKWASHER - 3/4" | 14 | ||||
| ? | TY8058 | • • PIVOT, ENGINE | 1 | ||||
| ? | VM3891 | • • BUSHING, RUBBER | 2 | ||||
| ? | C1648 | • • CAPSCREW - 3/4" - 10NC X 3" | 8 | ||||
| ? | WA0362 | • • FLAT WASHER - 3/4" (HARDENED) | 8 | ||||
| ? | C1527 | • • NUT - 3/4" - 10NC | 8 | ||||
| ? | EC3738 | • • HANDRAIL, FRONT CENTER | 1 | ||||
| ? | C1612 | • • CAPSCREW - 1/2" - 13NC X 1" | 8 | ||||
| ? | TY8388 | • • BLOCK, TAPPED | 4 | ||||
| ? | EC2617 | • • PLATE, COVER | 2 | ||||
| ? | TC1231 | • • LOCKWASHER - 3/8" | 8 | ||||
| ? | TC1234 | • • CAPSCREW - 3/8" - 16NC X 3/4" | 8 | ||||
| ? | EC4149 | • • GRILLE, L.H. | 1 | ||||
| ? | EC4148 | • • GRILLE, R.H. | 1 |