k-part
Наименование Страница Код страницы
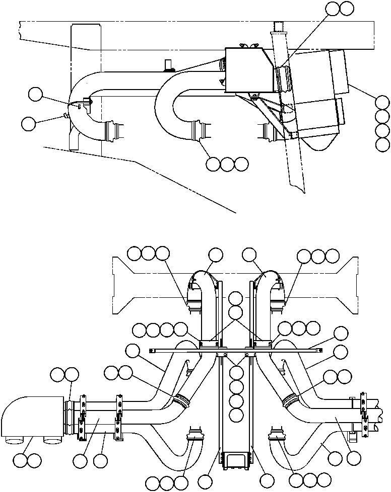
AIR CLEANER ASSM (PB6850) 044 14491

Номер на схеме Каталожный номер Название Количество Детали
? WA0720 • FLAT WASHER - 3/8" (HARDENED) 4
? C0312 • • LOCKWASHER - 3/8" 4
? C1521 • • NUT - 3/8" - 16NC 4
? VW7335 • • ROD, BENT 2
? ED3895 • • TUBE SUPPORT 2
? C1603 • • CAPSCREW - 3/8" - 16NC X 1 1/4" 4
? ED3896 • • MOUNTING, ANGLE 2
? C1523 • • NUT - 1/2" - 13NC 4
? C1613 • • CAPSCREW - 1/2" - 13NC X 1 1/4" 4
? C1540 • • LOCKWASHER - 1/2" 4
? WA0360 • • FLAT WASHER - 1/2" (HARDENED) 4
? WA1097 • • CLAMP, T-BOLT 8
? VW7882 • • HOSE, HUMP 4
? WB0677 • • CLAMP, T-BOLT 6
? PB8242 • • REDUCER 2
? WA1082 • • CLAMP, T-BOLT 22
? TG9243 • • CONNECTOR - 90 DEG 1
? TA0602 • • FITTING, NYLON 2
? PB8243 • • REDUCER 4
? VW7769 • • HOSE 8
? ED3897 • • TUBE, REAR R.H. 1
? ED3884 • • TUBE, CENTER R.H. 1
? ED4210 • • AIR INTAKE BOX, R.H. 1
? ED3882 • • TUBE, FRONT R.H. 1
? ED3886 • • TUBE, REAR 2
? ED3887 • • SUPPORT, TUBE - R.H. 1
? ED3894 • • SUPPORT, TUBE - L.H. 1
? ED4335 • • SUPPORT, TUBE - FRONT L.H. 1
? ED3885 • • TUBE, CENTER L.H. 1
? ED3876 • • SUPPORT, TUBE 1
? ED3899 • • TUBE, REAR L.H. 1
? ED4216 • • AIR INTAKE BOX, L.H. 1
? PB6850 • • AIR CLEANER ASSM (SEE INDEX) 2
? C1641 • • CAPSCREW - 5/8" - 11NC X 4 1/2" 26
? C1541 • • LOCKWASHER - 5/8" 26
? WA0361 • • FLAT WASHER - 5/8" (HARDENED) 26

Dump Trucks Komatsu / AFE32-ED 830E                 COLLAHUASI(AFE32-ED) / AIR CLEANER PIPING - 2(042 : 40803)
?
?
?
?
?
?
?
?
?
?
?
?
?
?
?
?
?
?
?
?
?
?
?
?
?
?
?
?
?
?
?
?
?
?
?
?
?
?
?
?
?
?
?
?
?
?
?
?
?
?
?
?
?
?
?