| Номер на схеме | Каталожный номер | Название | Количество | Детали | |||
|---|---|---|---|---|---|---|---|
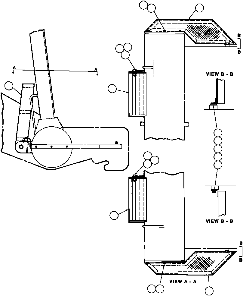
| ? | TZ8533 | • LADDER | 2 | ||||
| ? | C1644 | • • CAPSCREW - 3/4" - 10NC X 2" | 4 | ||||
| ? | C1551 | • • FLAT WASHER - 3/4" | 8 | ||||
| ? | VL2993 | • • LOCKNUT - 3/4" - 10NC | 4 | ||||
| ? | C1601 | • • CAPSCREW - 3/8" - 16NC X 3/4" | 6 | ||||
| ? | C0312 | • • LOCKWASHER - 3/8" | 6 | ||||
| ? | TZ7982 | • • STEP - L.H. | 1 | ||||
| ? | TZ7985 | • • STEP - R.H. | 1 | ||||
| ? | TG6579 | • • PAD, TAPPED | 2 | ||||
| ? | KB4407 | • • BRACKET, MOUNTING | 2 | ||||
| ? | C1602 | • • CAPSCREW - 3/8" - 16NC X 1" | 2 | ||||
| ? | DF3042 | • • FLAT WASHER - 3/8" | 2 |