|
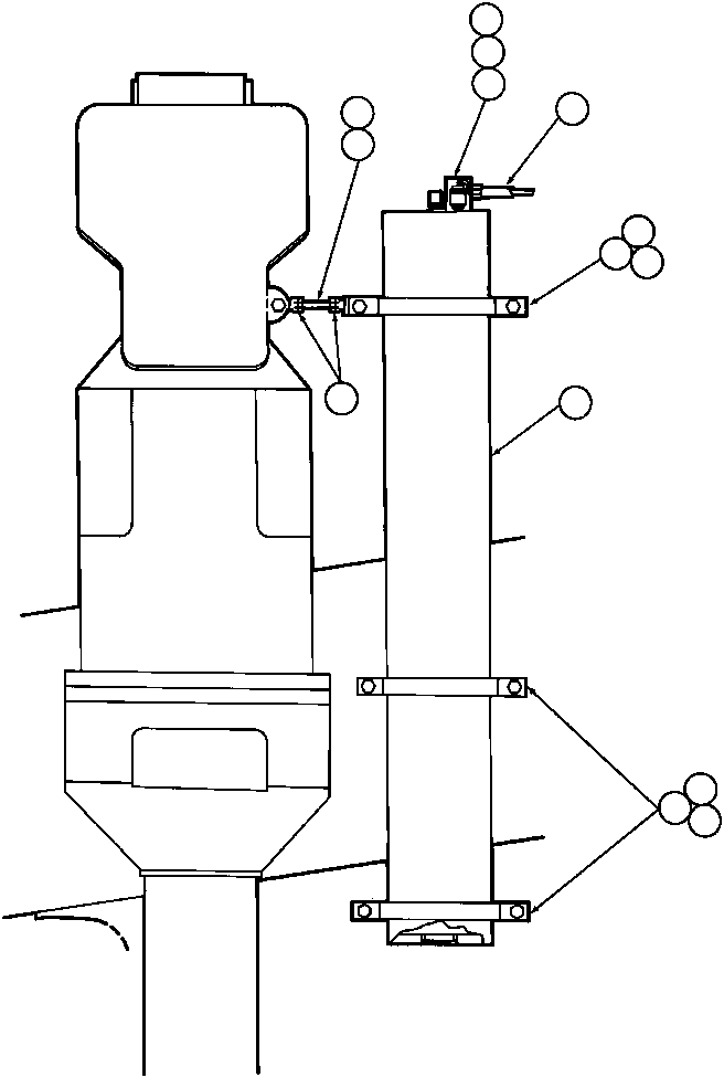
Номер на схеме |
Каталожный номер |
Название |
Количество |
Детали |
|
|
|
? |
TY8660 |
• ROD, THREADED |
1 |
|
|
|
|
? |
VC3040 |
• • JAM NUT - 3/4" - 16NF |
2 |
|
|
|
|
? |
TN6999 |
• • COVER |
1 |
|
|
|
|
? |
PB8333 |
• • SWITCH, PRESSURE (1) |
1 |
|
|
|
|
? |
|
• • CABLE (TO INSTRUMENT PANEL) |
1 |
|
|
|
|
? |
WA1606 |
• • END, ROD |
2 |
|
|
|
|
? |
VF8334 |
• • CAPSCREW - 3/4" - 10NC X 2 3/4" |
7 |
|
|
|
|
? |
VL2993 |
• • LOCKNUT - 3/4" - 10NC |
7 |
|
|
|
|
? |
TY8653 |
• • BRACKET |
4 |
|
|
|
|
? |
TY3541 |
• • ACCUMULATOR ASSM (SEE INDEX) |
1 |
|
|
|
|
? |
EC1015 |
• • VALVE ASSM (1) |
1 |
|
|
|
|
? |
EC1447 |
• • BODY, VALVE (2) |
1 |
|
|
|
|
? |
TD7179 |
• • CORE, VALVE (2) |
1 |
|
|
|
|
? |
TL3995 |
• • O-RING (2) |
1 |
|
|
|
|
? |
AK8290 |
• • NOTE: (1) INCLUDED IN KIT AK8290 |
65535 |
|
|
|
|
? |
EC1015 |
• • (2) INCLUDED IN KIT EC1015 |
65535 |
|
|
|