| Наименование | Страница | Код страницы |
|---|---|---|
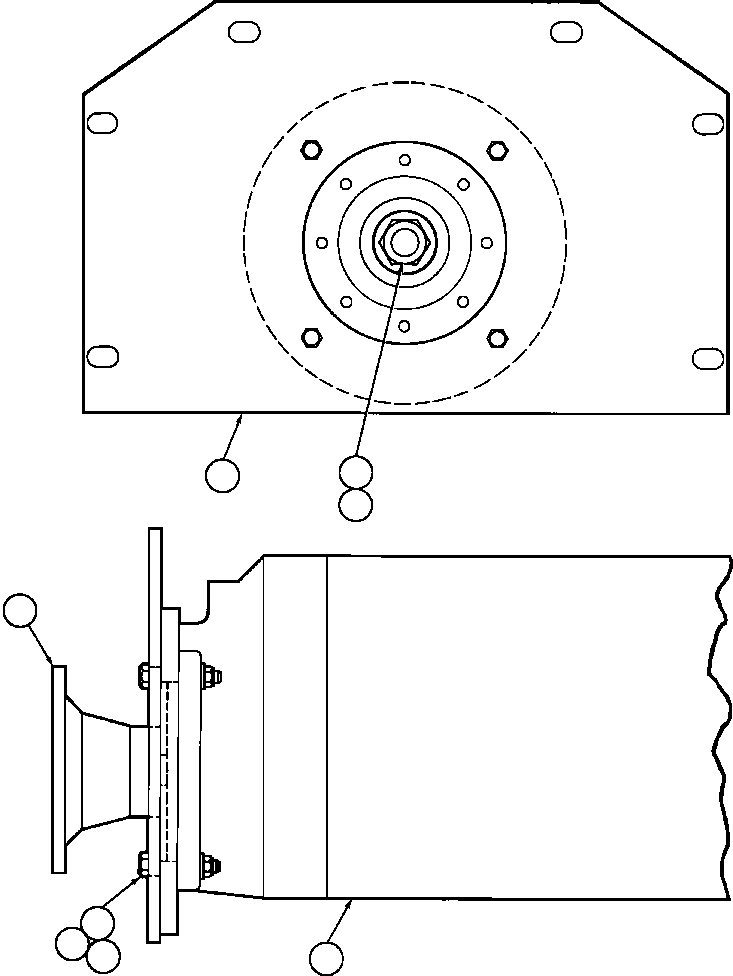
| HOIST PUMP ASSM (PB7943) | 428 | 40252 |
| Номер на схеме | Каталожный номер | Название | Количество | Детали | |||
|---|---|---|---|---|---|---|---|
| ? | PB7943 | HOIST PUMP ASSM (SEE INDEX) | 1 | 40252 | |||
| ? | EB2474 | SUPPORT | 1 | ||||
| ? | PB7940 | FLANGE, COMPANION | 1 | ||||
| ? | H0989 | JAM NUT - 1" - 14NF | 1 | ||||
| ? | EB3976 | WASHER | 1 | ||||
| ? | C1527 | NUT - 3/4" - 10NC | 4 | ||||
| ? | WA0362 | FLAT WASHER - 3/4" | 4 | ||||
| ? | C1647 | CAPSCREW - 3/4" - 10NC X 2 3/4" | 4 |