k-part
Номер на схеме Каталожный номер Название Количество Детали
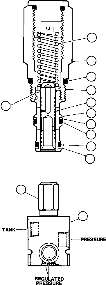
? VE4318 MANIFOLD (1) 1
? VE4317 PRESSURE REDUCING VALVE 1
? • SPRING (1) 1
? • RETAINER (1) 1
? VE2442 • O-RING (2) 1
? VE2212 • GUIDE, SPRING 1
? VE2214 • SPOOL 1
? • CAGE (1) 1
? VE4319 • WASHER, BACKUP (1) 1
? TF1144 • O-RING (2) 1
? VE1486 • O-RING (2) 1
? VE4320 • WASHER, BACKUP (2) 1
? • RING, SPRING (2) 1
? NOTE: (1) NOT SVCD SEPARATELY.
? RK0217 (2) INCLUDED IN RK0217 SEAL KIT.

Dump Trucks Komatsu / AFE32-BF 830E S/N 32096 - 32102 & 32135 - 32139     ESCONDIDA(AFE32-BF) / PRESSURE REDUCING MANIFOLD VALVE (PB7054)(294 : 40041)
?
?
?
?
?
?
?
?
?
?
?
?
?