k-part
Номер на схеме Каталожный номер Название Количество Детали
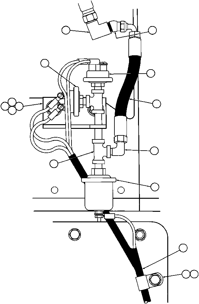
? DL2660 • FITTING, TUBE 1
? PB7359 • • FITTING, HYD SPECIAL 1
? SG3290 • • SWITCH, ENGINE HOURS 1
? HA6192 • • HOSE 1
? VH0596 • • FITTING, ELBOW - 90 DEG 1
? PB6915 • • SWITCH, ENGINE OIL PRESSURE SENDER 1
? • • WIRE (INCLUDED IN ENGINE HARNESS) 1
? 424243 • • CLAMP 1
? TC1231 • • LOCKWASHER - 3/8" 1
? R2404 • • TEE, PIPE 1
? VJ2388 • • CAPSCREW - 7/16" - 14NC X 7/8" 2
? TD0795 • • LOCKWASHER - 7/16" 2
? VC6503 • • FLAT WASHER - 7/16" 2
? TY8236 • • PLATE, MANIFOLD 1
? VF7730 • • SWITCH, ENGINE AIR START INTERLOCK PRESSURE 1

Dump Trucks Komatsu / AFE32-BA 830E                 ARCH MINERAL(AFE32-BA) / ENGINE OIL PRESSURE PIPING(056 : 40054)
?
?
?
?
?
?
?
?
?
?
?
?
?
?
?