| Наименование | Страница | Код страницы |
|---|---|---|
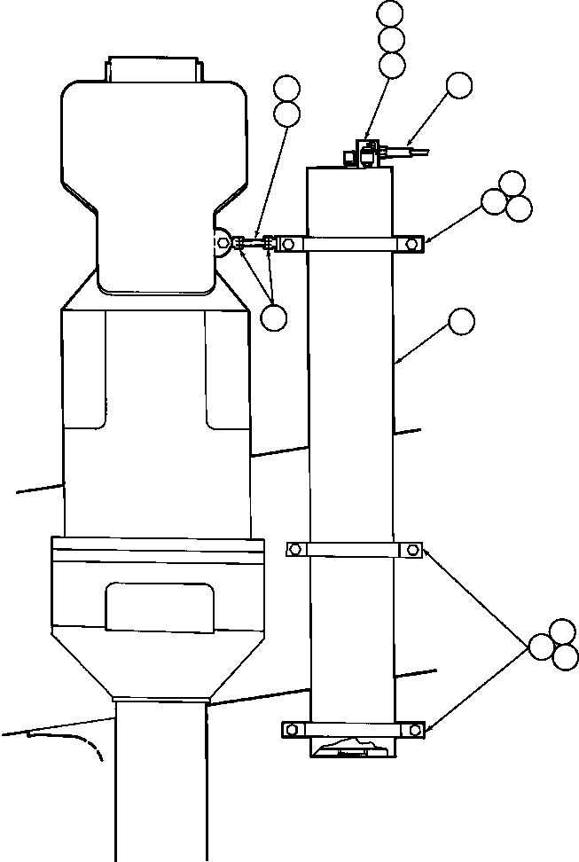
| ACCUMULATOR ASSM (TY3541) | 102 | 40441 |
| Номер на схеме | Каталожный номер | Название | Количество | Детали | |||
|---|---|---|---|---|---|---|---|
| ? | TY8660 | ROD, THREADED | 1 | ||||
| ? | VC3040 | JAM NUT - 3/4" - 16NF | 2 | ||||
| ? | TN6999 | COVER | 1 | ||||
| ? | PB8333 | SWITCH, PRESSURE | 1 | ||||
| ? | CABLE (TO INSTRUMENT PANEL) | 1 | |||||
| ? | WA1606 | END, ROD | 2 | ||||
| ? | VF8334 | CAPSCREW - 3/4" - 10NC X 2 3/4" | 7 | ||||
| ? | VL2993 | LOCKNUT - 3/4" - 10NC | 7 | ||||
| ? | TY8653 | BRACKET | 4 | ||||
| ? | TY3541 | ACCUMULATOR ASSM (SEE INDEX) | 1 | 40441 | |||
| ? | EC1015 | LOAD WEIGHING VALVE ASSM | 1 | ||||
| ? | EC1447 | • BODY, VALVE | 1 | ||||
| ? | TD7179 | • CORE, VALVE | 1 | ||||
| ? | TL3995 | • O-RING | 1 |