k-part
Наименование Страница Код страницы
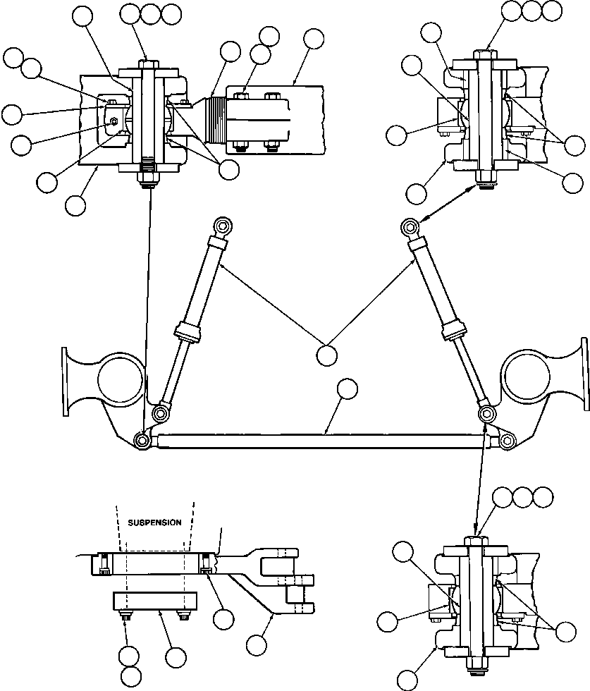
STEERING CYLINDER ASSM (TZ1419) 098 14456

Номер на схеме Каталожный номер Название Количество Детали
? TY0456 TIE ROD ASSM 1
? TD0439 • BUSHING, SEALED 2
? TG3397 • ADAPTOR 2
? TY2171 • RETAINER, BEARING 2
? C1602 • CAPSCREW - 3/8" - 16NC X 1" 8
? C0312 • LOCKWASHER - 3/8" 8
? TY2245 • ROD END, THREADED 1
? TY2172 • ROD, TIE 1
? VN9140 • CAPSCREW - 3/4" - 10NC X 4" 2
? VL2993 • LOCKNUT - 3/4" - 10NC 2
? WA4819 CAPSCREW - 1 1/8" - 12NF X 4" (12 POINT) 38
? TZ1419 STEERING CYLINDER ASSM (SEE INDEX) 2 14456
? TY2239 RETAINER 12
? KC7131 CAPSCREW - 1" - 8NC X 9 1/2" 6
? VN9755 LOCKNUT, NYLON - 1" - 8NC 6
? TY2240 SPACER 12
? TY1831 STEERING ARM - R.H. 1
? TY1833 STEERING ARM - L.H. 1
? TY2241 PIN 6
? WA4817 CAPSCREW - 1 1/4" - 12NF X 5" (12 POINT) 24
? TY2149 FLAT WASHER (HARDENED) 24
? TY2228 PLATE, RETAINING 2
? TY2243 SLEEVE, BRACKET 4

Dump Trucks Komatsu / AFE32-AV 830E S/N 31975 & 31976     DISPUTADA(AFE32-AV) / STEERING ARMS & LINKAGE(096 : 40412)
?
?
?
?
?
?
?
?
?
?
?
?
?
?
?
?
?
?
?
?
?
?
?
?
?
?
?
?
?
?
?
?
?
?
?
?
?
?