k-part
Наименование Страница Код страницы
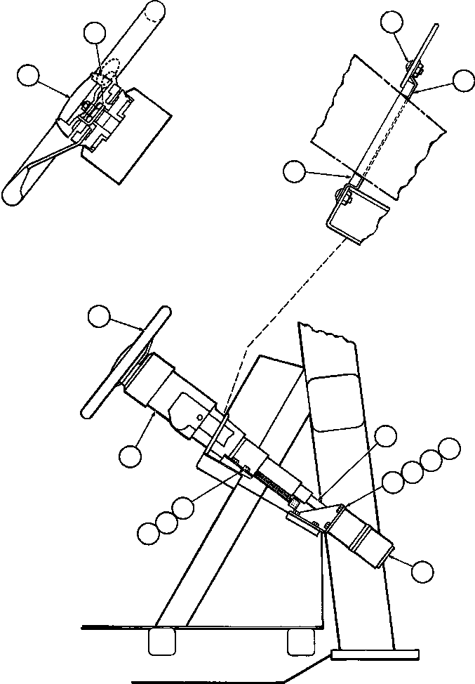
STEERING CONTROL UNIT (PB6905) 094 14608
STEERING COLUMN ASSM (PB6880) 092 40397

Номер на схеме Каталожный номер Название Количество Детали
? PB8234 WHEEL, STEERING 1
? TZ0659 STEERING COLUMN ASSM 1
? VL0954 • HOUSING, PIN 1
? VH5019 • CONNECTOR, PIN 8
? VZ4843 • TIE, CABLE 1
? VH2586 • RING, TERMINAL 1
? PB6880 • STEERING COLUMN ASSM (SEE INDEX) 1 40397
? PB7022 • SIGNAL, TURN 1
? MM0350 • MACHINE SCREW - M5 - 16 2
? MM0379 • WASHER - M5 (EXTERNAL TOOTH) 2
? TK9875 SHAFT, STEERING 1
? TX6342 MOUNT, STEERING VALVE 1
? TG5720 CAPSCREW - 3/8" - 16NC X 1" 8
? TC1231 LOCKWASHER - 3/8" 12
? WA4726 FLAT WASHER - 3/8" 12
? PB6905 STEERING CONTROL VALVE ASSM (SEE INDEX) 1 14608
? TL7218 CAPSCREW - 3/8" - 16NC X 7/8" 4
? PB6846 BUTTON, HORN 1
? VE3184 RING, LOCKING 1
? WA4605 PHILLIPS SCREW - #10 X 24NC X 1/2" 4
? TX7836 PLATE, RETAINING - RIGHT 1
? TX7837 PLATE, RETAINING - LEFT 1
? TX7829 SEAL, STEERING COLUMN 1

Dump Trucks Komatsu / AFE32-AV 830E S/N 31975 & 31976     DISPUTADA(AFE32-AV) / STEERING COLUMN & CONTROL VALVE INSTL(090 : 40349)
?
?
?
?
?
?
?
?
?
?
?
?
?
?
?
?