k-part
Номер на схеме Каталожный номер Название Количество Детали
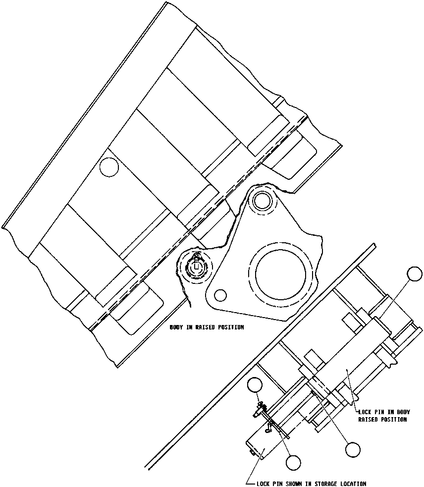
? TY8818 • LOCK PIN, BODY-UP 1
? C1525 • • NUT - 3/8" - 16NC 1
? TY9289 • • MOUNT 1
? PB7046 • • PIN, KLIK 1

Dump Trucks Komatsu / AFE32-AC 830E                 FORDING SYNCRUDE(AFE32-AC) / BODY-UP LOCK PIN INSTL(178 : 14542)
?
?
?
?