| Номер на схеме | Каталожный номер | Название | Количество | Детали | |||
|---|---|---|---|---|---|---|---|
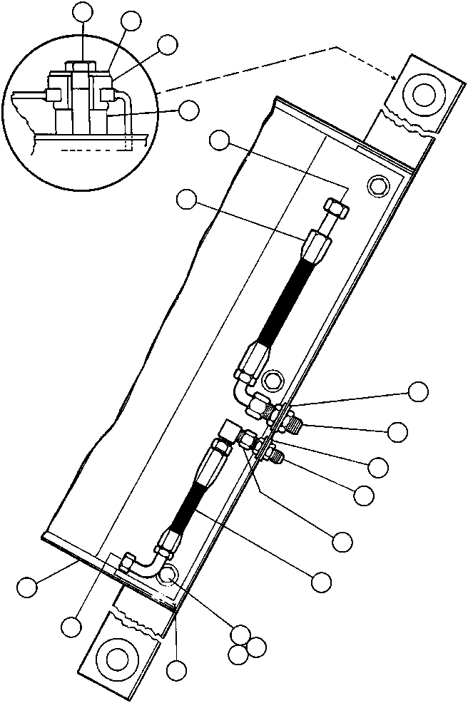
| ? | WA1732 | • O-RING | 1 | ||||
| ? | HA5349 | • • HOSE | 1 | ||||
| ? | TF2449 | • • FLAT WASHER - 3/4" | 2 | ||||
| ? | VY3709 | • • FITTING, STRAIGHT | 1 | ||||
| ? | VN9780 | • • FLAT WASHER - 9/16" | 2 | ||||
| ? | VY4490 | • • FITTING, STRAIGHT | 1 | ||||
| ? | TR2767 | • • ELBOW, SWIVEL - 90 DEG | 1 | ||||
| ? | HA5348 | • • HOSE | 1 | ||||
| ? | TY5090 | • • BRACKET, MOUNTING | 1 | ||||
| ? | PB2170 | • • CONDENSER | 1 | ||||
| ? | C1613 | • • CAPSCREW - 1/2" - 13NC X 1 1/4" | 6 | ||||
| ? | DD5640 | • • FLAT WASHER - 1/2" | 12 | ||||
| ? | VG7811 | • • LOCKNUT - 1/2" - 13NC | 6 | ||||
| ? | WA1731 | • • O-RING | 1 | ||||
| ? | C1615 | • • CAPSCREW - 1/2" - 13NC X 1 3/4" (1) | 4 | ||||
| ? | DA0557 | • • WASHER (1) | 4 | ||||
| ? | VY9850 | • • MOUNT, RUBBER (1) | 4 | ||||
| ? | TY5095 | • • LUG, TAPPED (1) | 4 | ||||
| ? | • • NOTE: (1) NOT INCLUDED IN ASSM. | 65535 |