k-part
Номер на схеме Каталожный номер Название Количество Детали
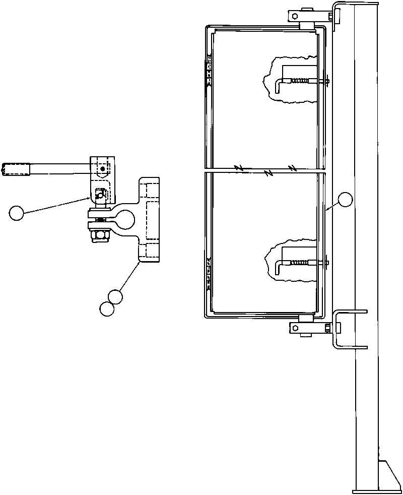
? AK1212 • MIRROR 1
? C1604 • • CAPSCREW - 3/8" - 16NC X 1 1/2" 4
? C0312 • • LOCKWASHER - 3/8" 4
? VE5731 • • CAMLOCK ASSM 1

Dump Trucks Komatsu / AFE32-AC 830E                 FORDING SYNCRUDE(AFE32-AC) / MIRROR INSTL(012 : 30087)
?
?
?
?