| Наименование | Страница | Код страницы |
|---|---|---|
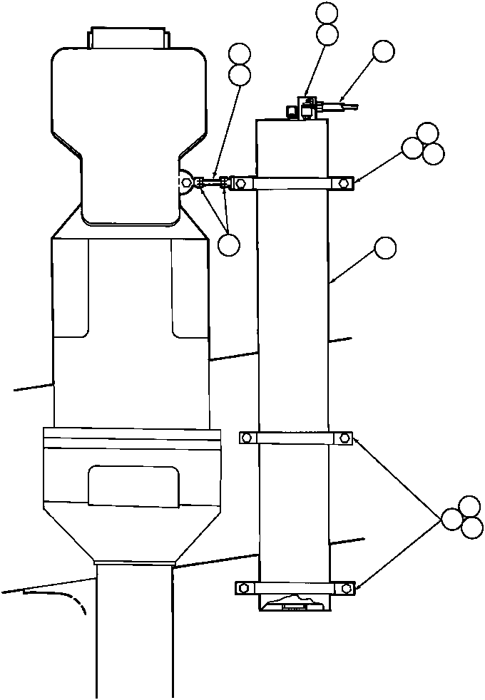
| ACCUMULATOR ASSM (TY3541) | 104 | 14452 |
| Номер на схеме | Каталожный номер | Название | Количество | Детали | |||
|---|---|---|---|---|---|---|---|
| ? | TY8660 | • ROD, THREADED | 1 | ||||
| ? | VC3040 | • • JAM NUT - 3/4" - 16NF | 2 | ||||
| ? | TN6999 | • • COVER | 1 | ||||
| ? | PB7062 | • • SWITCH, PRESSURE | 1 | ||||
| ? | • • CABLE (TO INSTRUMENT PANEL) | 1 | |||||
| ? | WA1606 | • • END, ROD | 2 | ||||
| ? | VF8334 | • • CAPSCREW - 3/4" - 10NC X 2 3/4" | 7 | ||||
| ? | VL2993 | • • LOCKNUT - 3/4" - 10NC | 7 | ||||
| ? | TY8653 | • • BRACKET | 4 | ||||
| ? | TY3541 | • • ACCUMULATOR ASSM (SEE INDEX) | 1 |