|
Номер на схеме |
Каталожный номер |
Название |
Количество |
Детали |
|
|
|
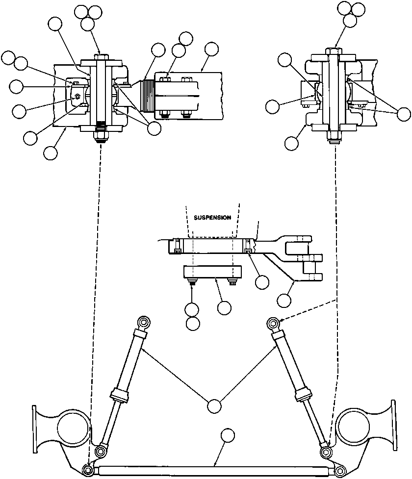
? |
TY0456 |
• TIE ROD ASSM |
1 |
|
|
|
|
? |
TD0439 |
• • BUSHING, SEALED |
2 |
|
|
|
|
? |
TG3397 |
• • ADAPTOR |
2 |
|
|
|
|
? |
TY2171 |
• • RETAINER, BEARING |
2 |
|
|
|
|
? |
C1602 |
• • CAPSCREW - 3/8" - 16NC X 1" |
8 |
|
|
|
|
? |
C0312 |
• • LOCKWASHER - 3/8" |
8 |
|
|
|
|
? |
TY2245 |
• • ROD END, THREADED |
1 |
|
|
|
|
? |
TY2172 |
• • ROD, TIE |
1 |
|
|
|
|
? |
VN9140 |
• • CAPSCREW - 3/4" - 10NC X 4" |
2 |
|
|
|
|
? |
VL2993 |
• • LOCKNUT - 3/4" - 10NC |
2 |
|
|
|
|
? |
WA4819 |
• • CAPSCREW - 1 1/8" - 12NF X 4" (12 POINT) |
38 |
|
|
|
|
? |
TZ1419 |
• • STEERING CYLINDER ASSM (SEE INDEX) |
2 |
|
|
|
|
? |
TY2239 |
• • RETAINER |
12 |
|
|
|
|
? |
KC7131 |
• • CAPSCREW - 1" - 8NC X 9 1/2" |
6 |
|
|
|
|
? |
VN9755 |
• • LOCKNUT, NYLON - 1" - 8NC |
6 |
|
|
|
|
? |
TY2240 |
• • SPACER |
12 |
|
|
|
|
? |
TY1831 |
• • STEERING ARM - R.H. |
1 |
|
|
|
|
? |
TY1833 |
• • STEERING ARM - L.H. |
1 |
|
|
|
|
? |
TY2241 |
• • PIN |
6 |
|
|
|
|
? |
WA4817 |
• • CAPSCREW - 1 1/4" - 12NF X 5" (12 POINT) |
24 |
|
|
|
|
? |
TY2149 |
• • FLAT WASHER (HARDENED) |
24 |
|
|
|
|
? |
TY2228 |
• • PLATE, RETAINER |
2 |
|
|
|