k-part
Наименование Страница Код страницы
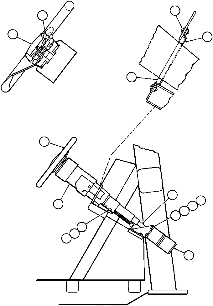
STEERING COLUMN ASSM (PB6880) 094 40043
STEERING CONTROL UNIT (PB6905) 096 14608

Номер на схеме Каталожный номер Название Количество Детали
? PB8234 • WHEEL, STEERING 1
? TZ0659 • • STEERING COLUMN ASSM 1
? VL0954 • • HOUSING, PIN 1
? VH5019 • • CONNECTOR, PIN 8
? VZ4843 • • TIE, CABLE 1
? VH2586 • • RING, TERMINAL 1
? PB6880 • • STEERING COLUMN ASSM (SEE INDEX) 1
? PB7022 • • SIGNAL, TURN 1
? MM0350 • • MACHINE SCREW - M5 - 16 2
? MM0379 • • WASHER - M5 (EXTERNAL TOOTH) 2
? TK9875 • • SHAFT, STEERING 1
? TX6342 • • MOUNT, STEERING VALVE 1
? TG5720 • • CAPSCREW - 3/8" - 16NC X 1" 8
? TC1231 • • LOCKWASHER - 3/8" 12
? WA4726 • • FLAT WASHER - 3/8" 12
? PB6905 • • STEERING CONTROL VALVE ASSM (SEE INDEX) 1
? TL7218 • • CAPSCREW - 3/8" - 16NC X 7/8" 4
? PB6846 • • BUTTON, HORN 1
? VE3184 • • RING, LOCKING 1
? WA4605 • • PHILLIPS SCREW - #10 X 24NC X 1/2" 4
? TX7836 • • PLATE, RETAINER - RIGHT 1
? TX7837 • • PLATE, RETAINER - LEFT 1
? TX7829 • • SEAL, STEERING COLUMN 1

Dump Trucks Komatsu / AFE32-AC 830E                 FORDING SYNCRUDE(AFE32-AC) / STEERING COLUMN & CONTROL VALVE INSTL(092 : 40349)
?
?
?
?
?
?
?
?
?
?
?
?
?
?
?
?