| Номер на схеме | Каталожный номер | Название | Количество | Детали | |||
|---|---|---|---|---|---|---|---|
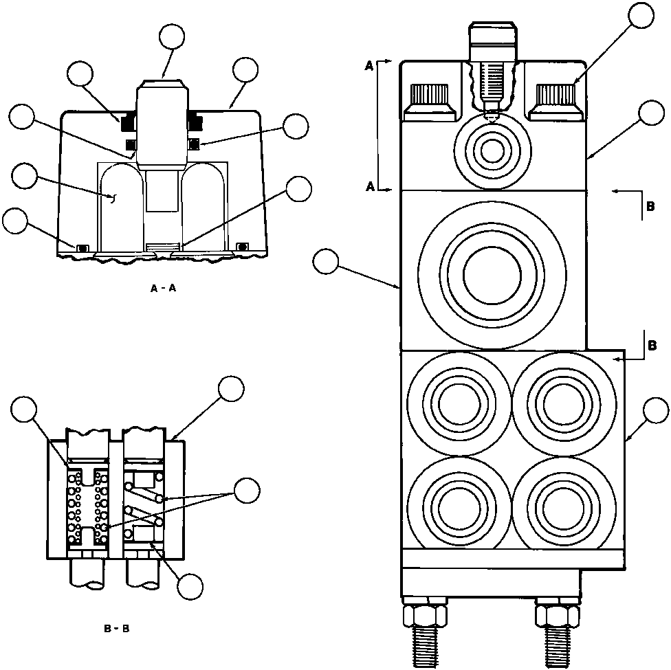
| ? | VE5245 | • PRIMARY ACTUATOR ASSM | 1 | ||||
| ? | VE5249 | • • TIE ROD ASSM | 1 | ||||
| ? | VE5248 | • • ACTUATOR BODY KIT | 1 | ||||
| ? | VE5264 | • • BODY, ACTUATOR | 1 | ||||
| ? | VE5265 | • • O-RING | 1 | ||||
| ? | VE2780 | • • SEAL, WIPER | 1 | ||||
| ? | VE2777 | • • RING, GLYD | 1 | ||||
| ? | VE5253 | • • O-RING | 1 | ||||
| ? | VE5246 | • • KIT, SHIM | 1 | ||||
| ? | VE5247 | • • PISTON | 2 | ||||
| ? | VE6902 | • • HARDWARE KIT | 1 | ||||
| ? | VE6900 | • • BODY, TANK | 1 | ||||
| ? | VE5262 | • • SHIM KIT | 1 | ||||
| ? | • • SPRING KIT | 1 | |||||
| ? | VE6901 | • • REGULATOR SET | 1 | ||||
| ? | VE6327 | • • GENERAL SEAL KIT | 1 |