| Номер на схеме | Каталожный номер | Название | Количество | Детали | |||
|---|---|---|---|---|---|---|---|
| ? | 114-15-00035 | • TRANSMISSION ASS'Y | 1 | ||||
| ? | □114-15-00034 | • • TRANSMISSION ASS'Y | 1 | ||||
| ? | • • THESE ASSEMBLIES CONSIST OF ALL PARTS SHOWN IN FIGS.2501 TO 2509. | 65535 | |||||
| ? | 114-15-00511 | • • TRANSMISSION ASS'Y | 1 | ||||
| ? | □114-15-00510 | • • TRANSMISSION ASS'Y | 1 | ||||
| ? | • • THESE ASSEMBLIES CONSIST OF ALL PARTS SHOWN IN FIGS.2501 TO 2505 AND 2507 TO 2509. | 65535 | |||||
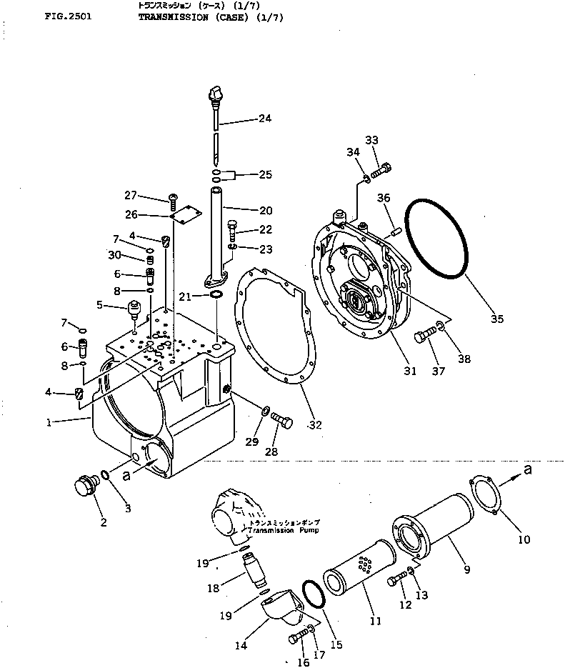
| ? | 113-15-31110 | • • CASE | 1 | ||||
| ? | 07044-12412 | • • PLUG | 1 | ||||
| ? | 07002-02434 | • • O-RING_(K1) | 1 | ||||
| ? | 07049-01215 | • • PLUG | 2 | ||||
| ? | 07030-00252 | • • BREATHER | 1 | ||||
| ? | 113-15-21310 | • • SLEEVE | 6 | ||||
| ? | 07000-72012 | • • O-RING_(K1) | 6 | ||||
| ? | 07000-72010 | • • O-RING_(K1) | 6 | ||||
| ? | 113-15-21711 | • • CASE | 1 | ||||
| ? | 113-15-21721 | • • GASKET_(K1) | 1 | ||||
| ? | □113-15-21720 | • • GASKET_(K1) | 1 | ||||
| ? | 113-15-21730 | • • SCREEN | 1 | ||||
| ? | 01010-50825 | • • BOLT | 3 | ||||
| ? | 01602-20825 | • • WASHER_SPRING | 3 | ||||
| ? | 113-15-21751 | • • COVER | 1 | ||||
| ? | 07000-02095 | • • O-RING_(K1) | 1 | ||||
| ? | 01010-50820 | • • BOLT | 2 | ||||
| ? | 01602-20825 | • • WASHER_SPRING | 2 | ||||
| ? | 103-15-21760 | • • SLEEVE | 1 | ||||
| ? | 07000-73028 | • • O-RING_(K1) | 2 | ||||
| ? | 113-15-38111 | • • FILLER | 1 | ||||
| ? | 07000-03035 | • • O-RING_(K1) | 1 | ||||
| ? | 01010-51030 | • • BOLT | 2 | ||||
| ? | 01602-21030 | • • WASHER_SPRING | 2 | ||||
| ? | 113-21-31260 | • • GAUGE | 1 | ||||
| ? | 07000-03022 | • • O-RING_(K1) | 2 | ||||
| ? | 09608-05080 | • • PLATE_ NAME_(LIMITED SUPPLY) | 1 | ||||
| ? | 04418-13060 | • • SCREW | 4 | ||||
| ? | 01010-51465 | • • BOLT | 2 | ||||
| ? | 01640-21426 | • • WASHER | 2 | ||||
| ? | 113-15-21330 | • • PLUG_(D=3.5MM) | 1 | ||||
| ? | (114-15-00320) | • • TRANSFER ASS'Y | 1 | ||||
| ? | 113-15-21121 | • • GASKET_(K1) | 1 | ||||
| ? | □113-15-21120 | • • GASKET_(K1) | 1 | ||||
| ? | 01010-51030 | • • BOLT | 12 | ||||
| ? | 01602-21030 | • • WASHER_SPRING | 12 | ||||
| ? | 07000-05280 | • • O-RING_(K1) | 1 | ||||
| ? | 04020-01228 | • • PIN_DOWEL | 1 | ||||
| ? | 01010-51435 | • • BOLT | 10 | ||||
| ? | 01602-21442 | • • WASHER_SPRING | 10 |
