k-part
Номер на схеме Каталожный номер Название Количество Детали
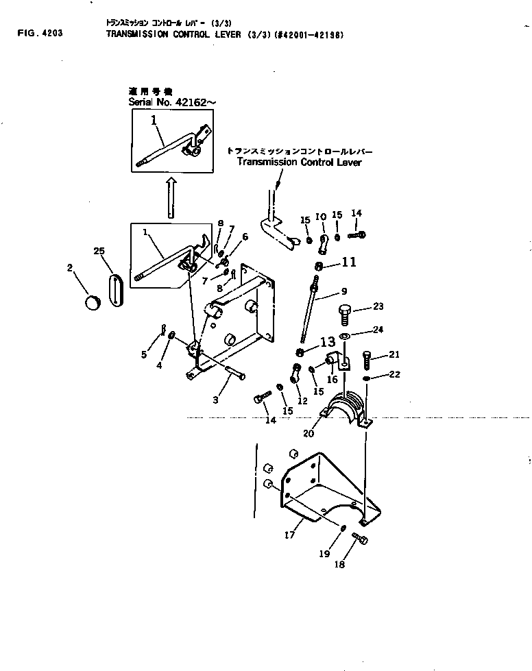
? 114-43-48524 • LEVER 1
? 114-43-48523 • • LEVER 1
? 09304-10835 • • KNOB 1
? 04205-11450 • • PIN 1
? 01641-21423 • • WASHER 1
? 04052-01453 • • PIN_SNAP 1
? 09463-00006 • • SPRING 1
? 01641-20608 • • WASHER 2
? 04050-11610 • • PIN_COTTER 2
? 04248-30816 • • ROD 1
? 04250-80847 • • END_ROD 1
? 01580-10806 • • NUT 1
? 04250-90847 • • END_ROD_ L.H. THREAD 1
? 01508-40805 • • NUT_ L.H. THREAD_L.H. THREAD 1
? 01010-50830 • • BOLT 2
? 04254-10823 • • SPACER 4
? 114-43-48590 • • LEVER 1
? 114-43-48651 • • BRACKET 1
? 01010-51020 • • BOLT 4
? 01643-31032 • • WASHER 4
? 114-43-48671 • • GUIDE 1
? 01010-50825 • • BOLT 3
? 01643-30823 • • WASHER 3
? 01010-51420 • • BOLT 1
? 01643-31445 • • WASHER 1
? 114-43-48231 • • GROMMET 1

Bulldozers Komatsu / D31E-20 S/N 40087-42000 & A40523-UP(D31E_20) / TRANSMISSION CONTROL LEVER (3/3)(4203 : 40011)