| Номер на схеме | Каталожный номер | Название | Количество | Детали | |||
|---|---|---|---|---|---|---|---|
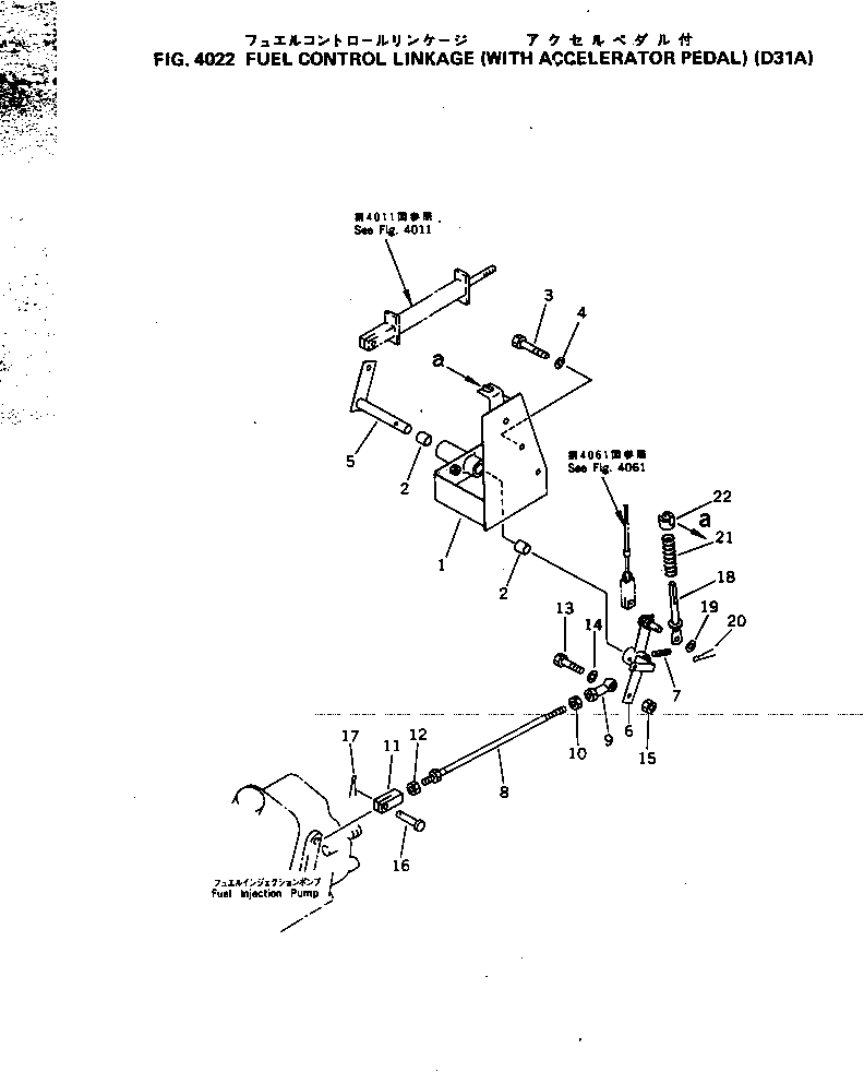
| ? | 113-43-47170 | • BRACKET | 1 | ||||
| ? | 09350-01420 | • • BUSHING | 2 | ||||
| ? | 01010-51025 | • • BOLT | 3 | ||||
| ? | 01602-21030 | • • WASHER_SPRING | 3 | ||||
| ? | 113-43-47160 | • • LEVER | 1 | ||||
| ? | 113-43-47150 | • • LEVER | 1 | ||||
| ? | 04025-00424 | • • PIN_SPRING | 1 | ||||
| ? | 113-43-46160 | • • ROD | 1 | ||||
| ? | 04250-90847 | • • END_ROD_ L.H. THREAD | 1 | ||||
| ? | 01508-40805 | • • NUT_ L.H. THREAD_L.H. THREAD | 1 | ||||
| ? | 113-43-44140 | • • YOKE | 1 | ||||
| ? | 01580-10504 | • • NUT | 1 | ||||
| ? | 01010-50825 | • • BOLT | 1 | ||||
| ? | 01602-20825 | • • WASHER_SPRING | 1 | ||||
| ? | 01580-10806 | • • NUT | 1 | ||||
| ? | 04205-10618 | • • PIN | 1 | ||||
| ? | 04050-11612 | • • PIN_COTTER | 1 | ||||
| ? | 113-43-35370 | • • SHAFT | 1 | ||||
| ? | 01641-20812 | • • WASHER | 1 | ||||
| ? | 04050-12012 | • • PIN_COTTER | 1 | ||||
| ? | 175-43-53360 | • • SPRING | 1 | ||||
| ? | 113-43-31381 | • • GUIDE | 1 |
