| Номер на схеме | Каталожный номер | Название | Количество | Детали | |||
|---|---|---|---|---|---|---|---|
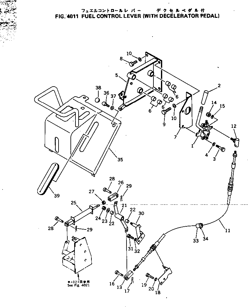
| ? | 114-43-48220 | • LEVER ASS'Y | 1 | ||||
| ? | 203-43-44360 | • • KNOB | 1 | ||||
| ? | 07372-21030 | • • BOLT | 2 | ||||
| ? | 01602-21030 | • • WASHER_SPRING | 2 | ||||
| ? | 114-43-48612 | • • BRACKET | 1 | ||||
| ? | 363-43-27250 | • • BEARING | 6 | ||||
| ? | 114-43-48770 | • • BRACKET | 1 | ||||
| ? | 01010-51020 | • • BOLT | 2 | ||||
| ? | 01010-51025 | • • BOLT | 2 | ||||
| ? | 01643-31032 | • • WASHER | 4 | ||||
| ? | 114-43-48210 | • • CABLE | 1 | ||||
| ? | 103-43-25160 | • • END_ROD | 1 | ||||
| ? | 113-43-44140 | • • YOKE | 1 | ||||
| ? | 01580-10504 | • • NUT | 1 | ||||
| ? | 01601-20513 | • • WASHER_SPRING | 1 | ||||
| ? | 04205-10620 | • • PIN | 1 | ||||
| ? | 04050-11612 | • • PIN_COTTER | 1 | ||||
| ? | 113-43-46120 | • • BRACKET | 1 | ||||
| ? | 01010-51020 | • • BOLT | 2 | ||||
| ? | 01602-21030 | • • WASHER_SPRING | 2 | ||||
| ? | 113-43-46140 | • • LEVER | 1 | ||||
| ? | 09350-01420 | • • BUSHING | 2 | ||||
| ? | 113-43-23230 | • • WASHER | 1 | ||||
| ? | 01598-00809 | • • NUT | 1 | ||||
| ? | 113-43-46130 | • • SPRING_LOOSE | 1 | ||||
| ? | 04211-20844 | • • YOKE | 1 | ||||
| ? | 01580-10806 | • • NUT | 1 | ||||
| ? | 04205-10822 | • • PIN | 2 | ||||
| ? | 04050-12015 | • • PIN_COTTER | 2 | ||||
| ? | 113-43-46170 | • • BRACKET | 1 | ||||
| ? | 01010-51020 | • • BOLT | 2 | ||||
| ? | 01602-21030 | • • WASHER_SPRING | 2 | ||||
| ? | 201-43-22190 | • • BUSHING | 1 | ||||
| ? | 08034-00310 | • • BAND | 1 | ||||
| ? | 114-43-48423 | • • COVER | 1 | ||||
| ? | 01252-30825 | • • BOLT | 2 | ||||
| ? | 01643-30823 | • • WASHER | 2 | ||||
| ? | 114-54-43260 | • • PLUG | 1 | ||||
| ? | 114-43-48241 | • • GROMMET | 1 |
