| Номер на схеме | Каталожный номер | Название | Количество | Детали | |||
|---|---|---|---|---|---|---|---|
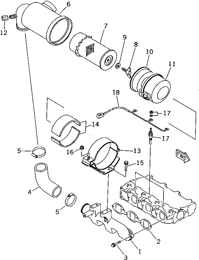
| ? | YM119645-12100 | MANIFOLD,AIR INTAKE | 1 | SN: 00101- |
|||
| ? | YM119620-12111 | GASKET (KIT) | 1 | SN: 00101- |
|||
| ? | YM26106-060202 | BOLT | 6 | SN: 00101- |
|||
| ? | YM119632-12551 | PIPE,SUCTION | 1 | SN: 00101- |
|||
| ? | YM23000-060000 | CLAMP | 2 | SN: 00101- |
|||
| ? | YM119640-12640 | AIR CLEANER ASS'Y | 1 | SN: 00101- |
|||
| ? | YM119640-12650 | • CASE,AIR CLEANER | 1 | SN: 00101- |
|||
| ? | YM121465-12510 | • ELEMENT | 1 | SN: 00101- |
|||
| ? | YM124064-12680 | • BOLT,WING | 1 | SN: 00101- |
|||
| ? | YM124064-12690 | • WASHER | 1 | SN: 00101- |
|||
| ? | YM121465-12700 | • BAFFLE | 1 | SN: 00101- |
|||
| ? | YM121024-12660 | • PAN,DUST | 1 | SN: 00101- |
|||
| ? | YM119640-12610 | • CAP | 1 | SN: 00101- |
|||
| ? | YM119632-12590 | SUPPORT ASS'Y | 1 | SN: 00101- |
|||
| ? | YM119632-12560 | • SUPPORT | 1 | SN: 00101- |
|||
| ? | YM119640-12580 | • SEAT | 2 | SN: 00101- |
|||
| ? | YM26014-080202 | BOLT | 4 | SN: 00101- |
|||
| ? | YM26366-080002 | NUT | 1 | SN: 00101- |
|||
| ? | YM129795-77800 | GLOW PLUG | 3 | SN: 00101- |
|||
| ? | YM119620-77820 | WIRE | 1 | SN: 00101- |
