k-part
Номер на схеме Каталожный номер Название Количество Детали
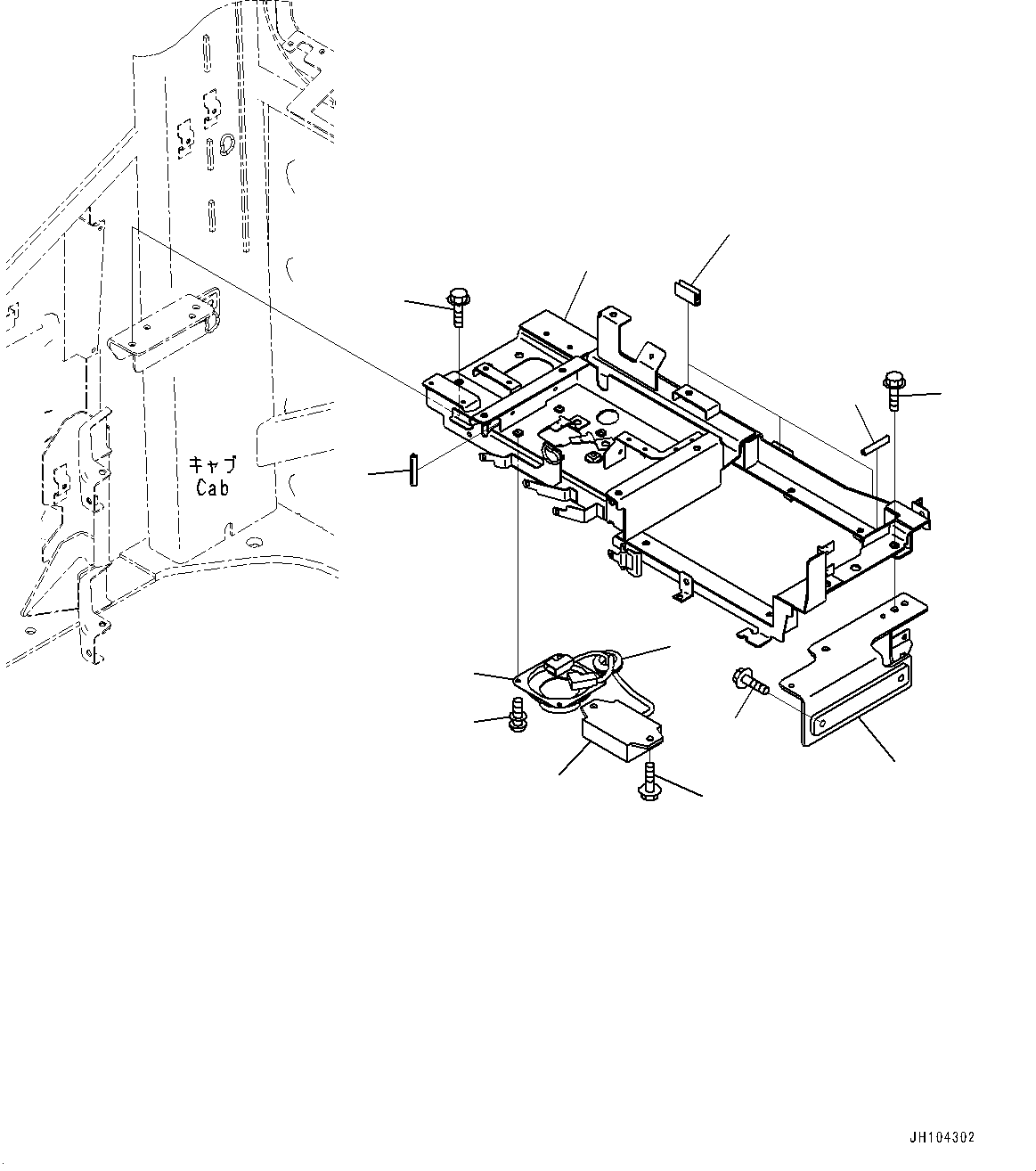
? 2A5-53-28223 Bracket Assembly 1
SN: K75001-
KIT-FLAG: _-
SCC:
SERIALNO: K75001-
? 208-53-12460 • Seat 3
SN: K75001-
KIT-FLAG: _-
SCC:
SERIALNO: K75001-
? • Bracket 1
SN: K75001-
KIT-FLAG: _-
SCC: C1
SERIALNO: K75001-
? 2A5-53-13310 • Trim 2
SN: K75001-
KIT-FLAG: _-
SCC:
SERIALNO: K75001-
? 01435-00825 Bolt 4
SN: K75001-
KIT-FLAG: _-
SCC:
SERIALNO: K75001-
? 20Y-06-42180 Speaker 1
SN: K75001-
KIT-FLAG: _-
SCC:
SERIALNO: K75001-
? 01023-20410 Screw 4
SN: K75001-
KIT-FLAG: _-
SCC:
SERIALNO: K75001-
? 2A5-06-21590 Resistor 1
SN: K75001-
KIT-FLAG: _-
SCC:
SERIALNO: K75001-
? 01435-00820 Bolt, Flanged 2
SN: K75001-
KIT-FLAG: _-
SCC:
SERIALNO: K75001-
? 207-54-16860 Grommet 1
SN: K75001-
KIT-FLAG: _-
SCC:
SERIALNO: K75001-
? 2A5-53-28752 Bracket 1
SN: K75001-
KIT-FLAG: _-
SCC:
SERIALNO: K75001-
? 01435-80830 Bolt 2
SN: K75001-
KIT-FLAG: _-
SCC:
SERIALNO: K75001-

Excavators Komatsu / PC290NLCI-11E0 S/N K75001-UP(PC00087U) / Cab, Cab In Parts, Luggage Plate(K012020 : K1110-009020)
?
?
?
?
?
?
?
?
?
?
?
?
?