k-part
Номер на схеме Каталожный номер Название Количество Детали
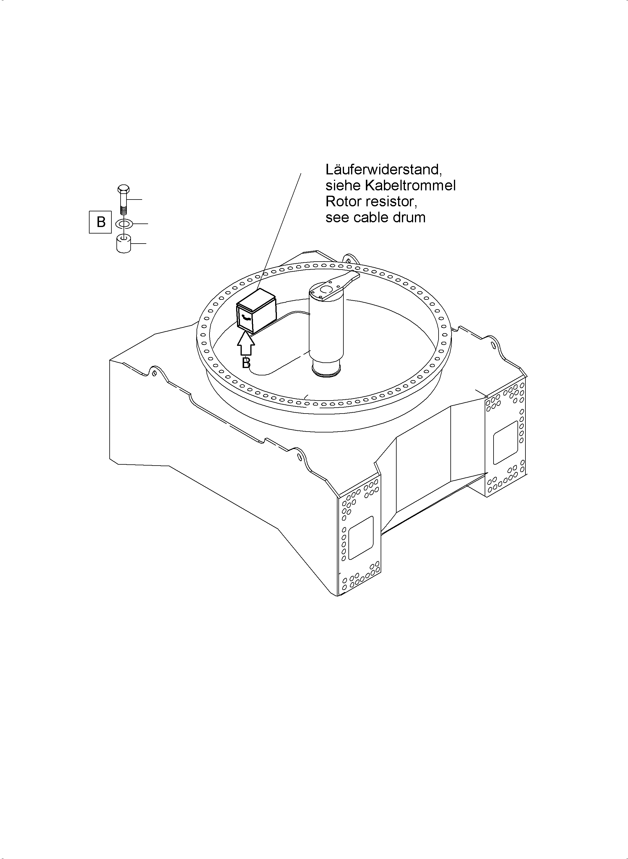
? 938 083 40 Threaded bush 4
EnglischBem:
DeutschBem:
DeutschDesc: Gewindebuchse
InternBDB:
InternKon:
SerienBem:
Zwhead_Deu:
Zwhead_Eng:
? 307 952 99 Bolt 4
EnglischBem:
DeutschBem:
DeutschDesc: Schraube
InternBDB:
InternKon:
SerienBem:
Zwhead_Deu:
Zwhead_Eng:
? 517 124 98 Lock washer 4
EnglischBem:
DeutschBem:
DeutschDesc: Sicherungsscheibe
InternBDB:
InternKon:
SerienBem:
Zwhead_Deu:
Zwhead_Eng:
? 798 821 73 Rotor resistor assy. 1
EnglischBem:
DeutschBem:
DeutschDesc: Lдuferwiderstand
InternBDB:
InternKon:
SerienBem:
Zwhead_Deu:
Zwhead_Eng:

Excavators Mining Komatsu / PC4000-6E S/N 08280(G08280) / Installation - Rotor resistor assy.(356-2810a : 356-2810a)
?
?
?
?