| Номер на схеме | Каталожный номер | Название | Количество | Детали | |||
|---|---|---|---|---|---|---|---|
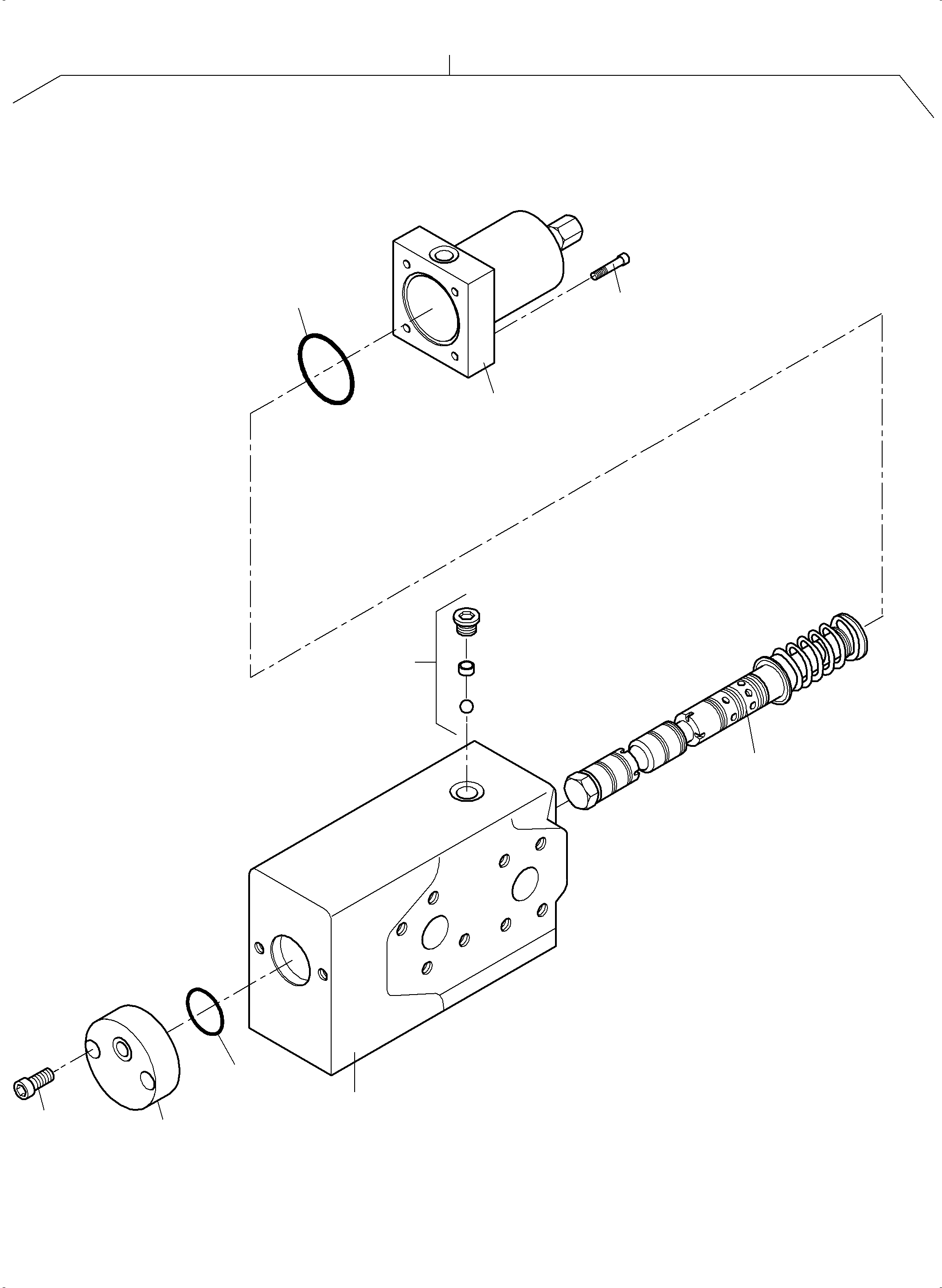
| ? | 951 905 40 | Countersunk valve | 1 | EnglischBem: DeutschBem: DeutschDesc: Senkventil InternBDB: InternKon: SerienBem: Zwhead_Deu: Zwhead_Eng: |
|||
| ? | Housing | 1 | EnglischBem: DeutschBem: DeutschDesc: Gehдuse InternBDB: InternKon: SerienBem: Zwhead_Deu: Zwhead_Eng: |
||||
| ? | Mounting kit | 1 | EnglischBem: DeutschBem: DeutschDesc: Einbausatz InternBDB: InternKon: SerienBem: Zwhead_Deu: Zwhead_Eng: |
||||
| ? | O-ring | 1 | EnglischBem: DeutschBem: DeutschDesc: O-Ring InternBDB: InternKon: SerienBem: Zwhead_Deu: Zwhead_Eng: |
||||
| ? | Cover assy. | 1 | EnglischBem: DeutschBem: DeutschDesc: Deckel kpl. InternBDB: InternKon: SerienBem: Zwhead_Deu: Zwhead_Eng: |
||||
| ? | Cover assy. | 1 | EnglischBem: DeutschBem: DeutschDesc: Deckel kpl. InternBDB: InternKon: SerienBem: Zwhead_Deu: Zwhead_Eng: |
||||
| ? | Piston | 1 | EnglischBem: DeutschBem: DeutschDesc: Kolben InternBDB: InternKon: SerienBem: Zwhead_Deu: Zwhead_Eng: |
||||
| ? | O-ring | 1 | EnglischBem: DeutschBem: DeutschDesc: O-Ring InternBDB: InternKon: SerienBem: Zwhead_Deu: Zwhead_Eng: |
||||
| ? | 319 259 99 | Bolt | 6 | EnglischBem: DeutschBem: DeutschDesc: Schraube InternBDB: InternKon: SerienBem: Zwhead_Deu: Zwhead_Eng: |
|||
| ? | Seal kit concist. of fig 04,08 | 1 | EnglischBem: DeutschBem: DeutschDesc: Dichtsatz best aus Bild-Nr.04,08 InternBDB: InternKon: SerienBem: Zwhead_Deu: Zwhead_Eng: |