k-part
Номер на схеме Каталожный номер Название Количество Детали
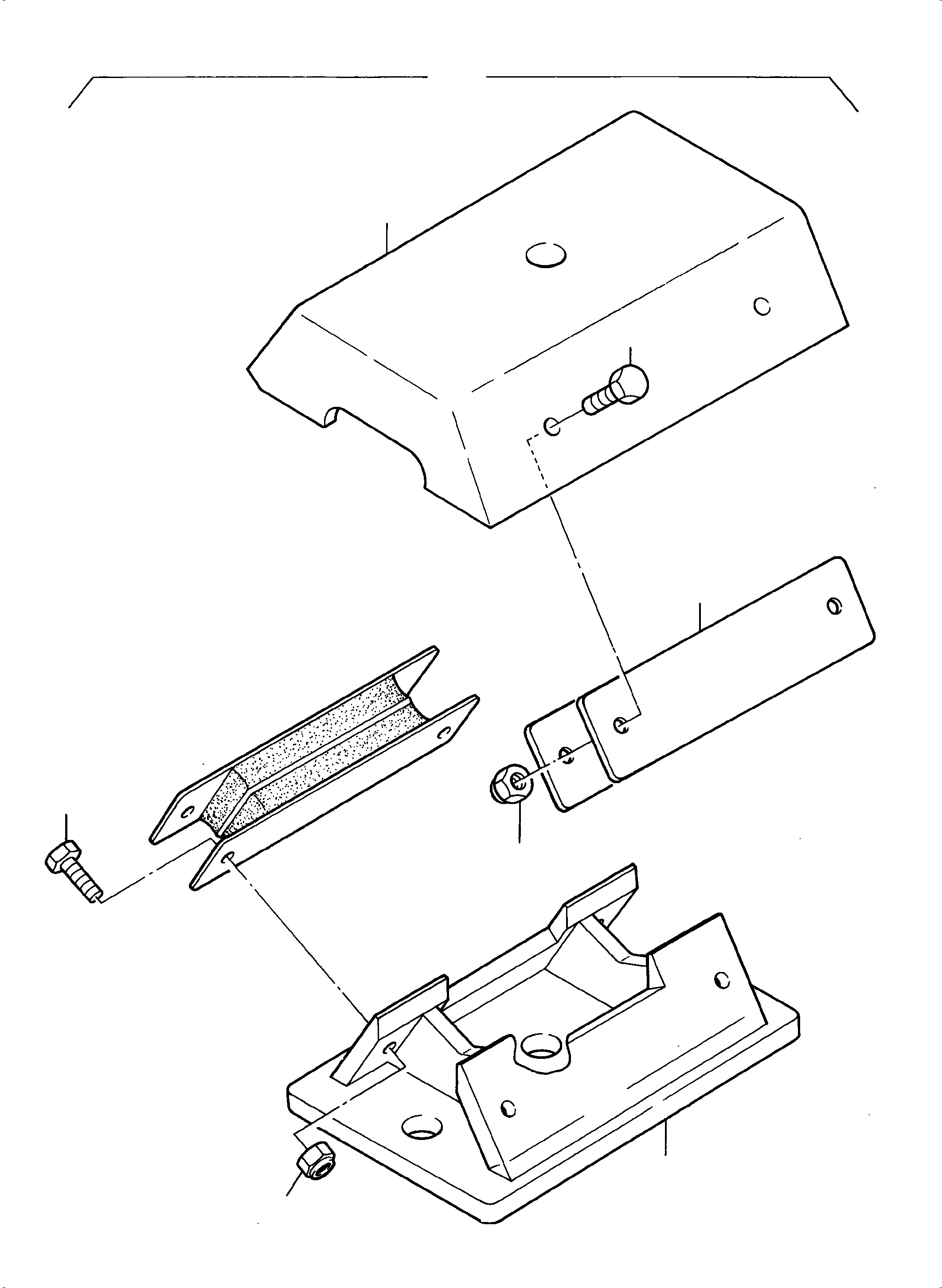
? 901 853 40 Engine mounting assy. 1
EnglischBem:
DeutschBem:
DeutschDesc: Motorlager, kpl.
InternBDB:
InternKon:
SerienBem:
Zwhead_Deu:
Zwhead_Eng:
? 462 994 40 Stand of the bearing 1
EnglischBem:
DeutschBem:
DeutschDesc: LagerfuЯ
InternBDB:
InternKon:
SerienBem:
Zwhead_Deu:
Zwhead_Eng:
? 462 995 40 Bearing cover 1
EnglischBem:
DeutschBem:
DeutschDesc: Lagerdeckel
InternBDB:
InternKon:
SerienBem:
Zwhead_Deu:
Zwhead_Eng:
? 896 672 40 Rubber metal bar 2
EnglischBem:
DeutschBem:
DeutschDesc: Metallgummischiene
InternBDB:
InternKon:
SerienBem:
Zwhead_Deu:
Zwhead_Eng:
? 307 780 99 Bolt 4
EnglischBem:
DeutschBem:
DeutschDesc: Schraube
InternBDB:
InternKon:
SerienBem:
Zwhead_Deu:
Zwhead_Eng:
? 507 037 98 Nut 8
EnglischBem:
DeutschBem:
DeutschDesc: Mutter
InternBDB:
InternKon:
SerienBem:
Zwhead_Deu:
Zwhead_Eng:
? 307 779 99 Bolt 4
EnglischBem:
DeutschBem:
DeutschDesc: Schraube
InternBDB:
InternKon:
SerienBem:
Zwhead_Deu:
Zwhead_Eng:

Excavators Mining Komatsu / PC3000-6 S/N 06352(G06352) / Engine Mounting(023-1227c : 023-1227c)
?
?
?
?
?
?
?
?