k-part
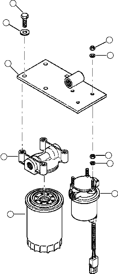
Номер на схеме Каталожный номер Название Количество Детали
? 80613KF BRACKET, FUEL PUMP/FILTER 1
? 16574KF MOUNTING, FILTER HEAD 1
? 16575KF FILTER, SPIN-ON FUEL 1
? 21966KF PUMP, ROTARY VANE 1
? 10757KF WASHER, SAE FLAT (1/4 IN) 6
? 10755KF NUT, HEX (1/4 IN) 3
? 15509KF NUT, NYLOCK (1/4 IN) 3
? 11707KF BOLT (3/8 IN x 1 IN) 4
? 15528KF WASHER, SAE FLAT (3/8 IN) 4

Forestry Komatsu / XT445L-3 A3101 - UP(XT445L-3) / D0200-05A0 ROTARY VANE PUMP AND SPIN-ON FUEL FILTER(D-016 : D0200-05A0)
?
?
?
?
?
?
?
?
?
?
?