| Номер на схеме | Каталожный номер | Название | Количество | Детали | |||
|---|---|---|---|---|---|---|---|
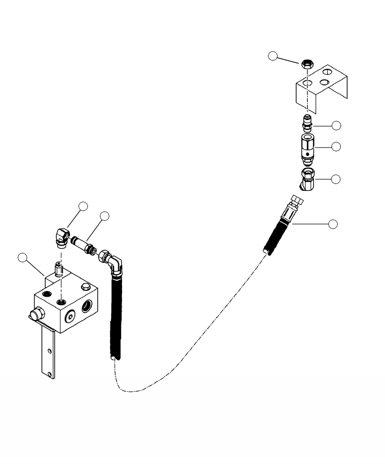
| ? | 28580KF | HOSE ASSEMBLY (2021-08-08JS-08J9) | 1 | ||||
| ? | 22383KF | ELBOW, 90 DEGREE (12 AOEG5-S) | 1 | ||||
| ? | 19092KF | CONNECTOR, STR LONG | 1 | ||||
| ? | 17009KF | CONNECTOR, STR BULKHEAD | 1 | ||||
| ? | (NSS) | • O-RING | 1 | ||||
| ? | 18782KF | SWIVEL, HYDRAULIC | 1 | ||||
| ? | 15472KF | ELBOW, 45 DEGREE SWIVEL | 1 | ||||
| ? | MANIFOLD, LOGIC VALVE ( SEE FIG. H0050- 01A0 ) |