k-part
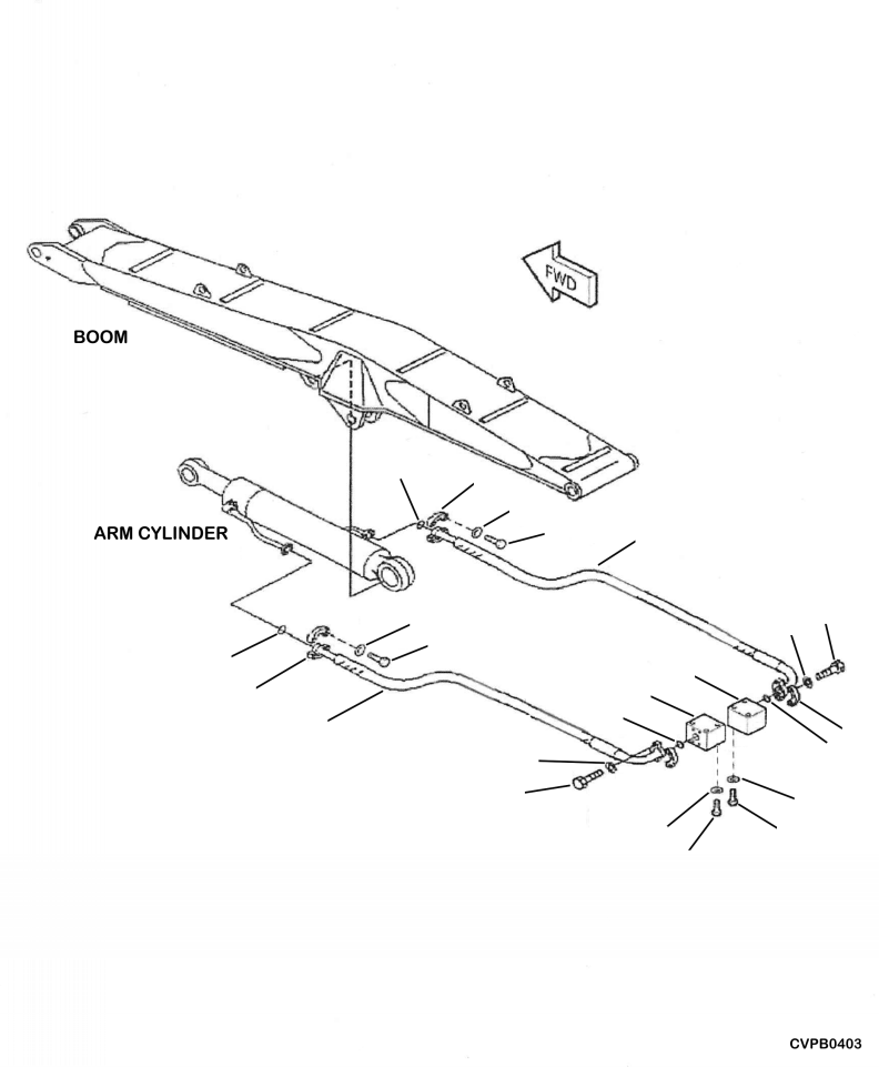
Номер на схеме Каталожный номер Название Количество Детали
? 206-62-U1110 BLOCK 1
? 01010-81295 BOLT 3
? 01643-31232 WASHER 3
? 206-62-U1220 BLOCK 1
? 01010-81295 BOLT 3
? 01643-31232 WASHER 3
? 07084-00636 HOSE 1
? 07000-13025 O-RING 2
? 07000-13025 O-RING 2
? 07371-30640 FLANGE 4
? 07371-30640 FLANGE 4
? 07372-21035 BOLT 8
? 07372-21035 BOLT 8
? 01643-51032 WASHER 8
? 01643-51032 WASHER 8
? 07084-01036 HOSE 1
? 07084-01036 HOSE 1
? 07000-13032 O-RING 2
? 07000-13032 O-RING 2
? 07371-31049 FLANGE 4
? 07371-31049 FLANGE 4
? 07372-21035 BOLT 8
? 07372-21035 BOLT 8
? 01643-51032 WASHER 8
? 01643-51032 WASHER 8

Excavators Komatsu / PC240LL-10 SN A20601-UP(PC240LLE) / T1300-09A0 LOG LOADER ARM CYLINDER HOSES(T-092 : T1300-09A0)
?
?
?
?
?
?
?
?
?
?
?
?
?
?
?
?
?
?
?
?
?
?
?