| Номер на схеме | Каталожный номер | Название | Количество | Детали | |||
|---|---|---|---|---|---|---|---|
| ? | PB6770 | COUPLING, MALE QUICK DISCONNECT | 1 | ||||
| ? | 162144 | • CAP, DUST | 1 | ||||
| ? | PB5862 | • COUPLING, MALE QUICK DISCONNECT | 1 | ||||
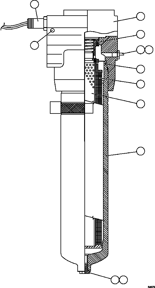
| ? | XA5166 | PRESSURE SWITCH ASSEMBLY | 1 | ||||
| ? | PC2916 | HYDRAULIC FILTER ASSEMBLY | 1 | ||||
| ? | BF2716 | • HEAD, FILTER | 1 | ||||
| ? | TF5194 | • O-RING | 1 | ||||
| ? | WA0100 | • O-RING | 1 | ||||
| ? | AK3572 | • ELEMENT, FILTER | 1 | ||||
| ? | BF2215 | • CORE KIT | 1 | ||||
| ? | BF2213 | • BOWL | 1 | ||||
| ? | VE4463 | • PLUG, DRAIN | 1 | ||||
| ? | TL3995 | • O-RING | 1 | ||||
| ? | BF2214 | • ADAPTER | 1 | ||||
| ? | BF2218 | SET SCREW | 1 |