| Номер на схеме | Каталожный номер | Название | Количество | Детали | |||
|---|---|---|---|---|---|---|---|
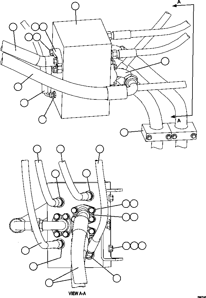
| ? | EG7185 | TUBE | 1 | ||||
| ? | C1609 | CAPSCREW - 7/16" - 14NC X 1 1/2" | 4 | ||||
| ? | C5775 | LOCKWASHER - 7/16" | 7 | ||||
| ? | TF3237 | CLAMP, SPLIT FLANGE | 2 | ||||
| ? | VG9096 | O-RING | 1 | ||||
| ? | PC2161 | FLOW AMPLIFIER | 1 | ||||
| ? | WA4855 | FITTING, ELBOW - 90 DEG | 1 | ||||
| ? | WB0574 | FITTING, STRAIGHT | 1 | ||||
| ? | HA8833 | HOSE | 1 | ||||
| ? | HA4416 | HOSE | 1 | ||||
| ? | WB0584 | FITTING, STRAIGHT | 3 | ||||
| ? | HA7288 | HOSE | 3 | ||||
| ? | C1603 | CAPSCREW - 3/8" - 16NC X 1 1/4" | 12 | ||||
| ? | C0312 | LOCKWASHER - 3/8" | 12 | ||||
| ? | TF8077 | CLAMP, SPLIT FLANGE - 1" | 6 | ||||
| ? | VG9097 | O-RING | 3 | ||||
| ? | C1608 | CAPSCREW - 7/16" - 14NC X 1" | 3 | ||||
| ? | PB1255 | FLAT WASHER - 7/16" | 3 | ||||
| ? | WA4710 | CLAMP, HYDRA ZORB - 1 1/2" | 2 | ||||
| ? | WB0537 | FITTING, ELBOW - 45 DEG | 1 | ||||
| ? | HA2463 | HOSE | 2 | ||||
| ? | HA6444 | HOSE | 1 |