| Номер на схеме | Каталожный номер | Название | Количество | Детали | |||
|---|---|---|---|---|---|---|---|
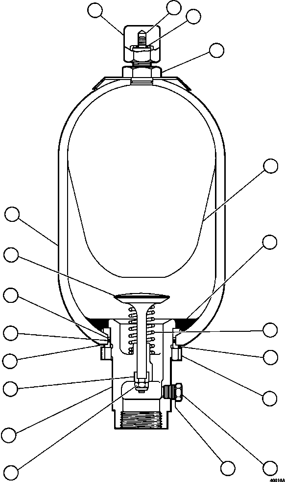
| ? | VS7980 | GUARD, VALVE | 1 | ||||
| ? | XA0192 | STEM, VALVE (1) | 1 | ||||
| ? | VE3880 | DYNASEAL (1) | 1 | ||||
| ? | VS7979 | NUT | 1 | ||||
| ? | BLADDER AND GAS VALVE ASSEMBLY (1)/(3) | 1 | |||||
| ? | VE3897 | RING, ANTI-EXTRUSION (2) | 1 | ||||
| ? | VE3882 | PLUG AND POPPET ASSEMBLY | 1 | ||||
| ? | VE3893 | • SPRING | 1 | ||||
| ? | VE3896 | • PLUG, BLEED | 1 | ||||
| ? | VE3901 | • O-RING | 1 | ||||
| ? | VE3895 | • NUT, STOP | 1 | ||||
| ? | VE3883 | • PLUG, MACHINED | 1 | ||||
| ? | VE3894 | • PISTON | 1 | ||||
| ? | VE3892 | • POPPET | 1 | ||||
| ? | VS7976 | SPACER (2) | 1 | ||||
| ? | VS7977 | LOCKNUT (2) | 1 | ||||
| ? | VE3900 | RING, BACKUP (1)/(2) | 1 | ||||
| ? | VE3899 | O-RING (1)/(2) | 1 | ||||
| ? | VE3898 | WASHER (1)/(2) | 1 | ||||
| ? | SHELL (3) | 1 | |||||
| ? | VE3059 | NOTE: (1) INCLUDED IN VE3059 REPAIR KIT. | |||||
| ? | (2) INCLUDED IN VE3057 PORT ASSEMBLY. | ||||||
| ? | (3) NOT SERVICED SEPARATELY. |