|
Номер на схеме |
Каталожный номер |
Название |
Количество |
Детали |
|
|
|
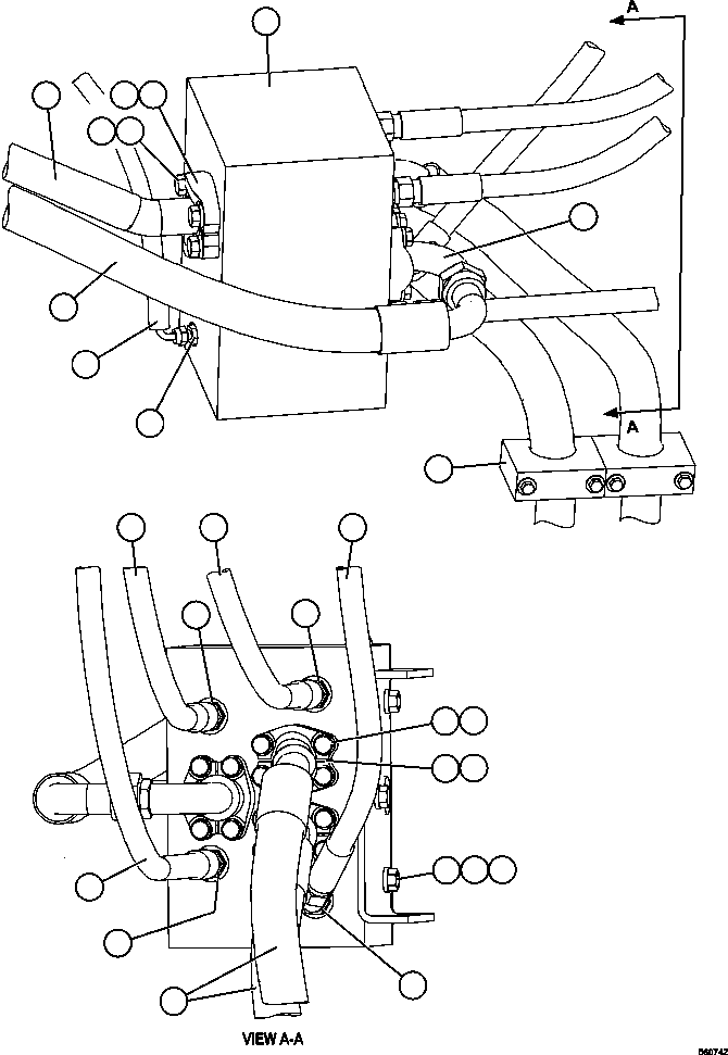
? |
EG7185 |
TUBE |
1 |
|
|
|
|
? |
C1609 |
CAPSCREW - 7/16" - 14NC X 1 1/2" |
4 |
|
|
|
|
? |
C5775 |
LOCKWASHER - 7/16" |
7 |
|
|
|
|
? |
TF3237 |
CLAMP, SPLIT FLANGE |
2 |
|
|
|
|
? |
VG9096 |
O-RING |
1 |
|
|
|
|
? |
PB9932 |
FLOW AMPLIFIER (SEE INDEX) |
1 |
|
35461 |
|
|
? |
WA4855 |
FITTING, ELBOW - 90 DEG |
1 |
|
|
|
|
? |
WB0574 |
FITTING, 37 DEG FLARE, STRAIGHT ADAPTER |
1 |
|
|
|
|
? |
HA8583 |
HOSE |
1 |
|
|
|
|
? |
HA4416 |
HOSE |
1 |
|
|
|
|
? |
WB0584 |
FITTING, STRAIGHT |
3 |
|
|
|
|
? |
HA8431 |
HOSE |
3 |
|
|
|
|
? |
C1603 |
CAPSCREW - 3/8" - 16NC X 1 1/4" |
12 |
|
|
|
|
? |
C0312 |
LOCKWASHER - 3/8" |
12 |
|
|
|
|
? |
TF8077 |
CLAMP, SPLIT FLANGE - 1" |
6 |
|
|
|
|
? |
VG9097 |
O-RING |
3 |
|
|
|
|
? |
C1608 |
CAPSCREW - 7/16" - 14NC X 1" |
3 |
|
|
|
|
? |
PB1255 |
FLAT WASHER - 7/16" |
3 |
|
|
|
|
? |
WA4710 |
CLAMP, HYDRA ZORB - 1 1/2" |
2 |
|
|
|
|
? |
WB0537 |
FITTING, 37 DEG FLARE, 45 DEG ELBOW |
1 |
|
|
|
|
? |
HA2463 |
HOSE |
2 |
|
|
|
|
? |
HA8296 |
HOSE |
1 |
|
|
|