k-part
Номер на схеме Каталожный номер Название Количество Детали
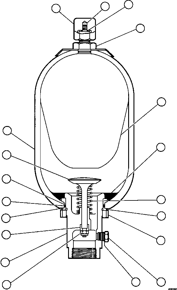
? VS7980 GUARD, VALVE 1
? XA0192 STEM, VALVE (1) 1
? VE3880 DYNASEAL (1) 1
? VS7979 NUT 1
? BLADDER AND GAS VALVE ASSEMBLY (1)/(3) 1
? VE3897 RING, ANTI-EXTRUSION (2) 1
? VE3882 PLUG AND POPPET ASSEMBLY 1
? VE3893 • SPRING 1
? VE3896 • PLUG, BLEED 1
? VE3901 • O-RING 1
? VE3895 • NUT, STOP 1
? VE3883 • PLUG, MACHINED 1
? VE3894 • PISTON 1
? VE3892 • POPPET 1
? VS7976 SPACER (2) 1
? VS7977 LOCKNUT (2) 1
? VE3900 RING, BACKUP (1)/(2) 1
? VE3899 O-RING (1)/(2) 1
? VE3898 WASHER (1)/(2) 1
? SHELL (3) 1
? VE3059 NOTE: (1) INCLUDED IN VE3059 REPAIR KIT.
? (2) INCLUDED IN VE3057 PORT ASSEMBLY.
? (3) NOT SERVICED SEPARATELY.

Dump Trucks Komatsu / AFE47-GW 730E S/N A30651 - A30655 & A30659 - A30668  OCP(AFE47-GW) / ACCUMULATOR ASSEMBLY (2.5 GAL)     PB7058(468 : 40016)
?
?
?
?
?
?
?
?
?
?
?
?
?
?
?
?
?
?
?